EasyManua.ls Logo

BKI LGF - Honeywell Control Wiring and Startup

Default Icon
56 pages
Print Icon
To Next Page IconTo Next Page
To Next Page IconTo Next Page
To Previous Page IconTo Previous Page
To Previous Page IconTo Previous Page
Loading...
SV9401/SV9402/SV9403, SV9501/SV9502/SV9503, SV9601/SV9602 SMARTVALVE™ SYSTEM CONTROLS
7 69-1004—2
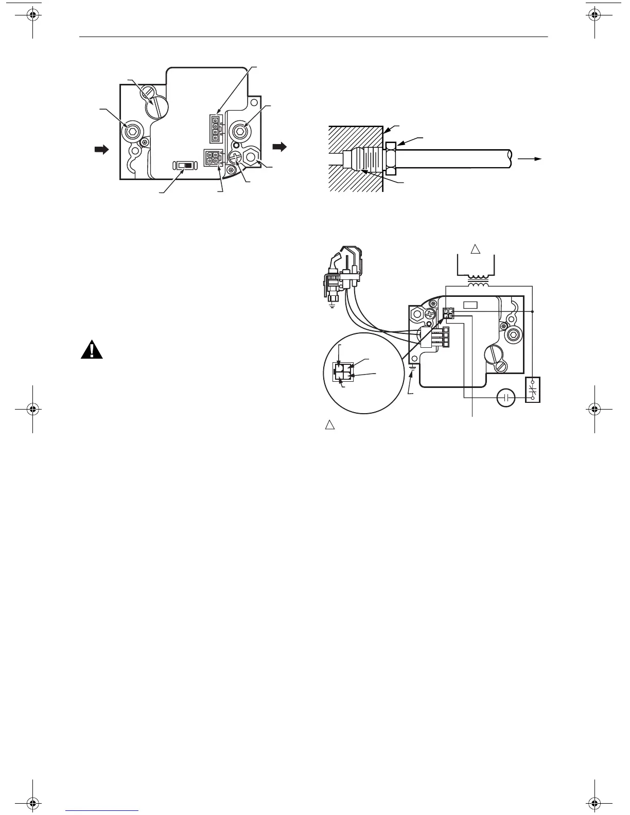
Fig. 6. Top view of ignition system control.
Wiring
Follow the wiring instructions furnished by the appliance
manufacturer if available. Otherwise, use these
instructions. Where these instructions differ from the
appliance manufacturer, follow the appliance
manufacturer instructions.
IMPORTANT
All wiring must comply with applicable electrical
WARNING
Electrical Shock Hazard or Equipment
Damage Hazard
Can cause severe injury, death or equipment
damage.
Disconnect power supply before making wiring
connections.
1. Check the power supply rating on the ignition
system control and make sure it matches the
available supply. The system transformer should
be NEMA rated for 40 VA or higher. An appliance
system power review is recommended. Install a
transformer, thermostat and other controls, as
required.
2. Connect control circuit to the ignition system
control using the keyed plug connector. See Fig. 8
through 11.
Fig. 7. Always use new compression fitting.
Fig. 8. SV9401/SV9402/SV9403, SV9501/SV9502/
SV9503, SV9601/SV9602 basic wiring diagram.
CONTROL
IGNITER
OFF
ON
OUTLET
PRESSURE
TAP
PRESSURE REGULATOR
ADJUSTMENT (UNDER
CAP SCREW)
INLET
PRESSURE
TAP
INLET
IGNITION SYSTEM
CONTROL SWITCH
IGNITER
CONNECTOR
PILOT
OUTLET
PILOT ADJUSTMENT
(UNDER CAP SCREW)
CONTROLS
CONNECTOR
OUTLET
M7934
IGNITION SYSTEM CONTROL
TIGHTEN NUT ONE TURN
BEYOND FINGER TIGHT
FITTING BREAKS OFF AND CLINCHES
TUBING AS NUT IS TIGHTENED
TO PILO
T
BURNER
M334
6
TO
ELECTRONIC FAN
TIMER (IF USED)
PILOT BURNER
GROUND
(THROUGH
PILOT TUBING)
LIMIT
THERMOSTAT
NEMA 40 VA
TRANSFORMER
24 VAC
120/240 VAC
POWER
SUPPLY
L2
24 VOLT
COMMON
24 VOLT
HOT
EFT
OUTPUT
24 VOLT
THERMOSTAT
OR PRESSURE
SWITCH
PILOT BURNER GROUND
(THROUGH PILOT TUBING)
L1
POWER SUPPLY. PROVIDE
DISCONNECT MEANS AND OVERLOAD
PROTECTION AS REQUIRED.
1
1
M7935C
69-1004-2.fm Page 7 Wednesday, November 5, 2003 10:49 AM

Other manuals for BKI LGF

Related product manuals