EasyManua.ls Logo

BKI LGF - Page 52

Default Icon
56 pages
Print Icon
To Next Page IconTo Next Page
To Next Page IconTo Next Page
To Previous Page IconTo Previous Page
To Previous Page IconTo Previous Page
Loading...
SV9401/SV9402/SV9403, SV9501/SV9502/SV9503, SV9601/SV9602 SMARTVALVE™ SYSTEM CONTROLS
13 69-1004—2
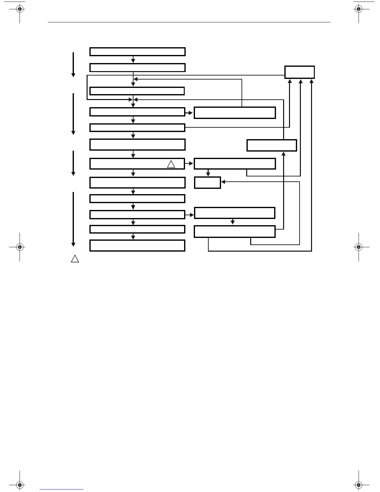
Fig. 13. SV9401/SV9402/SV9403, SV9501/SV9502/SV9503, SV9601/SV9602 SmartValve sequence of operation.
5. Make sure the appliance call for heat function pro-
vides proper inputs to the ignition control through
the 2X2 power connector.
6. Follow the Operating Sequence and
Troubleshooting flow charts Fig. 13 and Fig. 14 to
determine if the ignition control system is defective.
NOTE: Most modern gas appliances have more than
one component in the control string. Improper
operation of any one component in the control
string can cause the appliance to fail to operate.
Use Fig. 14 to locate and correct the true source
of the problem.
APPLY 24 VAC TO APPLIANCE
THERMOSTAT CALLS FOR HEAT
PREPURGE (SV9X02 ONLY)
FLAME SIGNAL DETECTED?
INTERNAL CHECK OKAY?
• PILOT VALVE OPENS
• IGNITER POWERED
PILOT LIGHTS AND FLAME IS SENSED
DURING TRIAL FOR IGNITION?
• IGNITER OFF
• MAIN VALVE OPENS
FLAME SIGNAL LOST?
ELECTRONIC FAN TIMER (EFT) OUTPUT ENERGIZES
THERMOSTAT CALL FOR HEAT ENDS
• MAIN AND PILOT VALVES CLOSE
• EFT OUTPUT DE-ENERGIZES
• MAIN AND PILOT VALVES CLOSE
• EFT OUTPUT DE-ENERGIZES
FIVE-MINUTE
RETRY DELAY
WAIT FOR FLAME SIGNAL TO DISAPPEAR.
PILOT VALVE/IGNITER REMAIN OFF
• PILOT VALVE CLOSES
• IGNITER OFF
FLAME LOST MORE THAN FIVE TIMES
IN ONE CALL FOR HEAT?
START
P
REPURGE/
S
YSTEM
C
HECK
TRIAL
FOR
IGNITION
MAIN
BURNER
OPERATION
END
THREE-SECOND FLAME
FAILURE RECYCLE DELAY
LOCKOUT
NO
NO
NO
NO
NO
YES SV9X01, SV9X02
SV9X01, SV9X02
YES SV9X03
SV9X03
YES
YES
YES
YES
M17218
SV9X01/SV9X02/SV9X03 SmartValve™ FAMILY SEQUENCE OF OPERATION
IGNITER WILL TURN OFF ABOUT 30 SECONDS INTO THE TRIAL FOR IGNITION IF THE PILOT FLAME HAS NOT LIT. IT WILL TURN BACK
ON FOR THE FINAL 30 SECONDS OF THE 90 SECOND TRIAL FOR IGNITION. THE PILOT VALVE WILL BE ENERGIZED DURING THE
ENTIRE TRIAL FOR IGNITION. THIS IS NORMAL OPERATION FOR THIS GAS IGNITION SYSTEM.
1
1
69-1004-2.fm Page 13 Wednesday, November 5, 2003 10:49 AM

Other manuals for BKI LGF

Related product manuals