EasyManua.ls Logo

Blue Box SIGMA 2002 - Activation;Deactivation of COOLING Operation (Summer Mode); Activation;Deactivation of HEATING Mode (Winter Mode); Switching off the Machine (Stand By)

Blue Box SIGMA 2002
124 pages
Print Icon
To Next Page IconTo Next Page
To Next Page IconTo Next Page
To Previous Page IconTo Previous Page
To Previous Page IconTo Previous Page
Loading...
Models 3.2 - 13.2, controller µchiller
Blue Box - Page 59
Figure 21
Figure 22
Figure 23
Figure 24
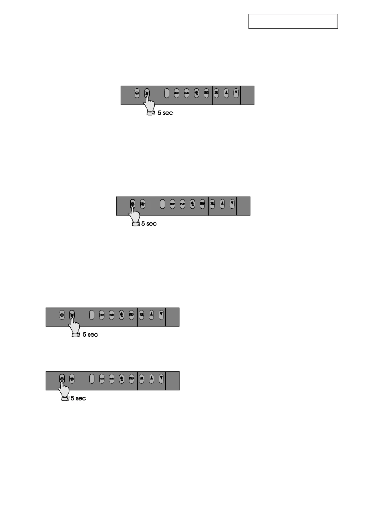
6.1.7 Activation/deactivation of COOLING operation (summer mode)
Pressing the key for more than 5 seconds activates or deactivates the summer operating mode (refer also to
parameter P6). It is not possible to switch directly from Winter mode to Summer mode without first deactivating
Winter mode. If the machine was previously running in Winter mode pressing this key will have no effect.
6.1.8 Activation/deactivation of HEATING mode (winter mode)
Pressing the key for more than 5 seconds activates or deactivates the winter operating mode. It is not possible to
switch directly from Summer mode to Winter mode. If the machine was previously running in Summer mode
pressing this key will have no effect - Summer mode must be deactivated before the change can be made.
6.1.9 Switching off the machine (stand by)
To switch off the machine deactivate both Summer and Winter modes.
Switch off the unit when working in cooling mode
(Summer).
Switch off the unit when working in heating mode
(Winter).

Table of Contents

Related product manuals