EasyManua.ls Logo

Blue Box SIGMA 2002 - Diagram with 3 Way Valve

Blue Box SIGMA 2002
124 pages
Print Icon
To Next Page IconTo Next Page
To Next Page IconTo Next Page
To Previous Page IconTo Previous Page
To Previous Page IconTo Previous Page
Loading...
Blue Box - 33
DIAGRAM WITH PRESSOSTATIC VALVE
1 Heat recovery condenser
2 Main condenser
3 Pressostatic valve
4 Pocket
Refrigerant gas inlet
Refrigerant gas outlet
Ingresso acqua recupero
Uscita acqua recupero
Condenser water inlet
Condenser water outlet
Figure 7
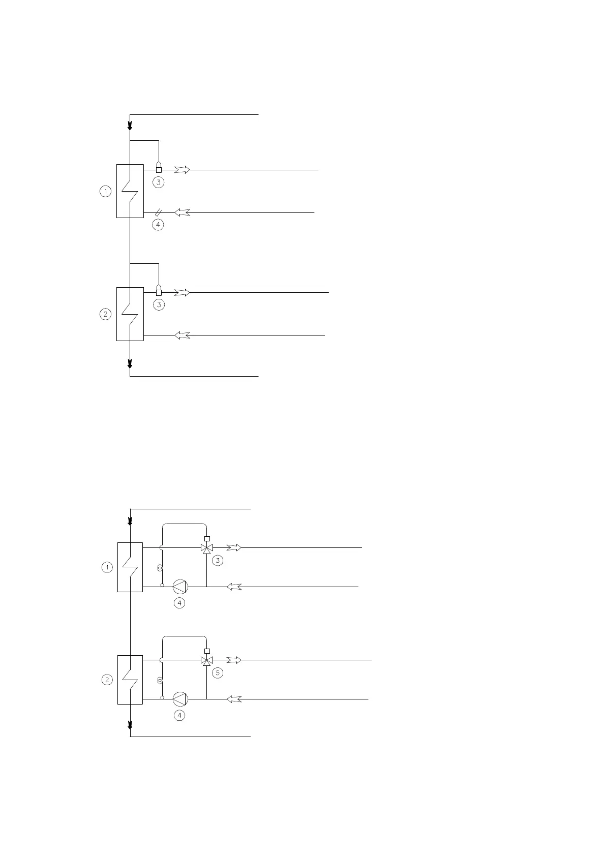
1 Heat recovery condenser
2 Main condenser
3 3 way valve
4 Circulating pump
5 3 way valve
DIAGRAM WITH 3 WAY VALVE
Figure 8
Refrigerant gas inlet
Refrigerant gas outlet
Condenser water inlet
Condenser water outlet
Heat recovery water inlet
Heat recovery water outlet

Table of Contents

Related product manuals