EasyManua.ls Logo

Böcker BOY - Female Connector

Böcker BOY
Print Icon
To Next Page IconTo Next Page
To Next Page IconTo Next Page
To Previous Page IconTo Previous Page
To Previous Page IconTo Previous Page
Loading...
Boy
20
Pos
Ident- Nr.
Stck
Benennung
Name
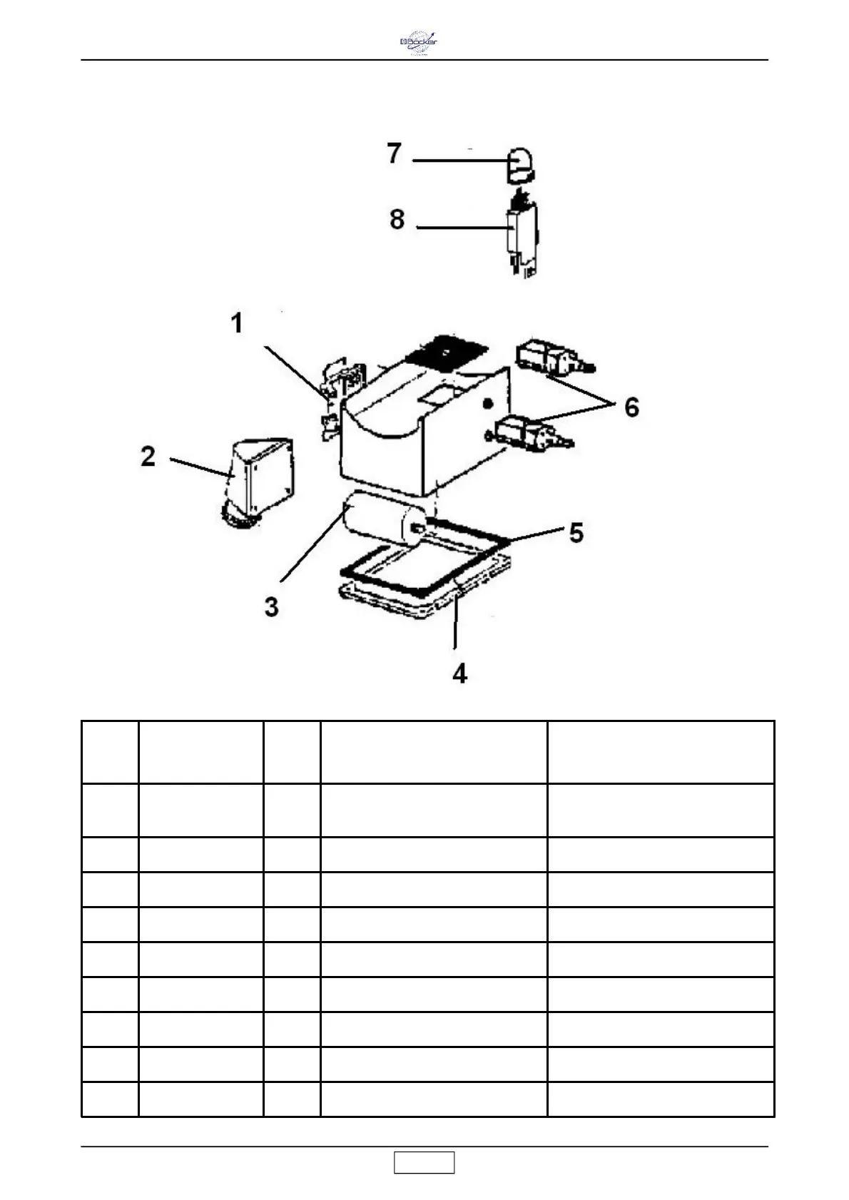
1
0000621041
1
GEHÄUSE MIT
BUCHSENEINSATZ
FEMALE CONNECTOR
0000530032
1 BUCHSENEINSATZ SOCKET APPLICATION
2
0000621038
1
STECKER
ELECTRIC CONNECTOR
3
0000621039
1 KONDENSATOR µF 55 CAPACITOR µF 55
4
0000621045
1
DECKEL
CONTROL BOX COVER
5
0000621047
1 DICHTUNG
GASKET
6
0000621040
2
ENDSCHALTER
LIMIT SWITCH
7
0000621052
1
SCHUTZKAPPE
PROTECTION CAP
8
0000621053
1 SICHERUNG THERMAL OVERLOAD
Elektrik 04.01

Related product manuals