EasyManua.ls Logo

Bosch 4100 - Digital Carriage Control Buttons and Display; ON;OFF Button and Automatic Shut Off; UNITS and RESET Button Operation

Bosch 4100
92 pages
Print Icon
To Next Page IconTo Next Page
To Next Page IconTo Next Page
To Previous Page IconTo Previous Page
To Previous Page IconTo Previous Page
Loading...
50.
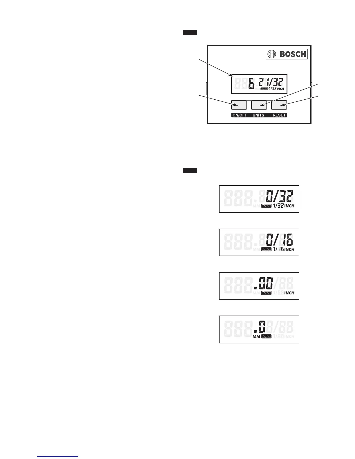
Control Buttons and Display
ON/OFF Button and Memory (see figure 39)
T
o turn the display ON:
Press firmly on the ON/OFF button 2. Note: The digital carriage’s
d
isplay
5 m
aintains a memory of the unit mode it was in when
last turned off. When turned on, the display
5 will show the last
measurement it was at when previously used. This memory is
d
esirable because of the Automatic Shut Off feature (see below)
- when the fence is left at a preset position and the user turns the
carriage back on to continue use. If the user wishes to start with
t
he display
5 s
howing a zero measurement, then the RESET
button will be used.
T
o turn the display OFF:
Press firmly and hold down on the ON/OFF button 2. To avoid
accidentally turning the display off, the button needs to be held
down for 2-3 seconds time. The system’s memory will remember
the last mode and measurement when the display is turned off.
Automatic Shut Off
There is an automatic shut off feature – this is included to
conserve battery life. If there is no activity by moving the digital
carriage or pressing any of the function buttons, the display will
automatically shut off in approximately 1 minute.
NOTE: The digital carriage will remember the last measurement
it was left at when the automatic shut off happens – to restart,
press the ON/OFF button.
UNITS button (see figures 39 & 40)
The digital carriage will display one of 4 measurement modes –
each mode uses a different unit of measurement:
1)
1/32 INCH (fractional) mode – as the carriage moves, the
display value increases or decreases by 1/32 of an inch
2)
1/16 INCH (fractional) mode – as the carriage moves, the
display value increases or decreases by 1/16 of an inch
3)
INCH (decimal) mode - as the carriage moves, the display
value increases or decreases by .01 (1/100 of an inch)
4)
MM (decimal) mode - as the carriage moves, the display
value increases or decreases by .5 (1/2 of a millimeter)
Each press on the
UNITS button 3 will change the display 5
mode to another.
RESET button (see figures 39 & 40)
Pressing the RESET button 4 will bring the display down to a
zero value – this is normally used to “zero out” the display when
the fence is against the blade. Press firmly and hold down on
the RESET button
4 to “zero out” the display 5. To avoid
accidentally resetting the display to zero, the button needs to be
held down for 2-3 seconds time.
1)
1/32 INCH mode – display will show 0/32
2) 1/16 INCH mode - display will show 0/16
3) INCH (decimal) mode - display will show .00
4) MM (decimal) mode - display will show .0
The display mode is controlled by the UNITS button setting.
1/32 INCH mode
1/16 INCH mode
Decimal INCH mode
Decimal MM mode
FIG. 39
FIG. 40

Table of Contents

Related product manuals