EasyManua.ls Logo

Bosch 4310 - Workpiece Support

Bosch 4310
120 pages
Print Icon
To Next Page IconTo Next Page
To Next Page IconTo Next Page
To Previous Page IconTo Previous Page
To Previous Page IconTo Previous Page
Loading...
-22-
0B82(0F$?4A0C8>=B
,>A:?8424(D??>AC
Long workpieces have a tendency
to tip over unless clamped down
and properly supported from underneath.
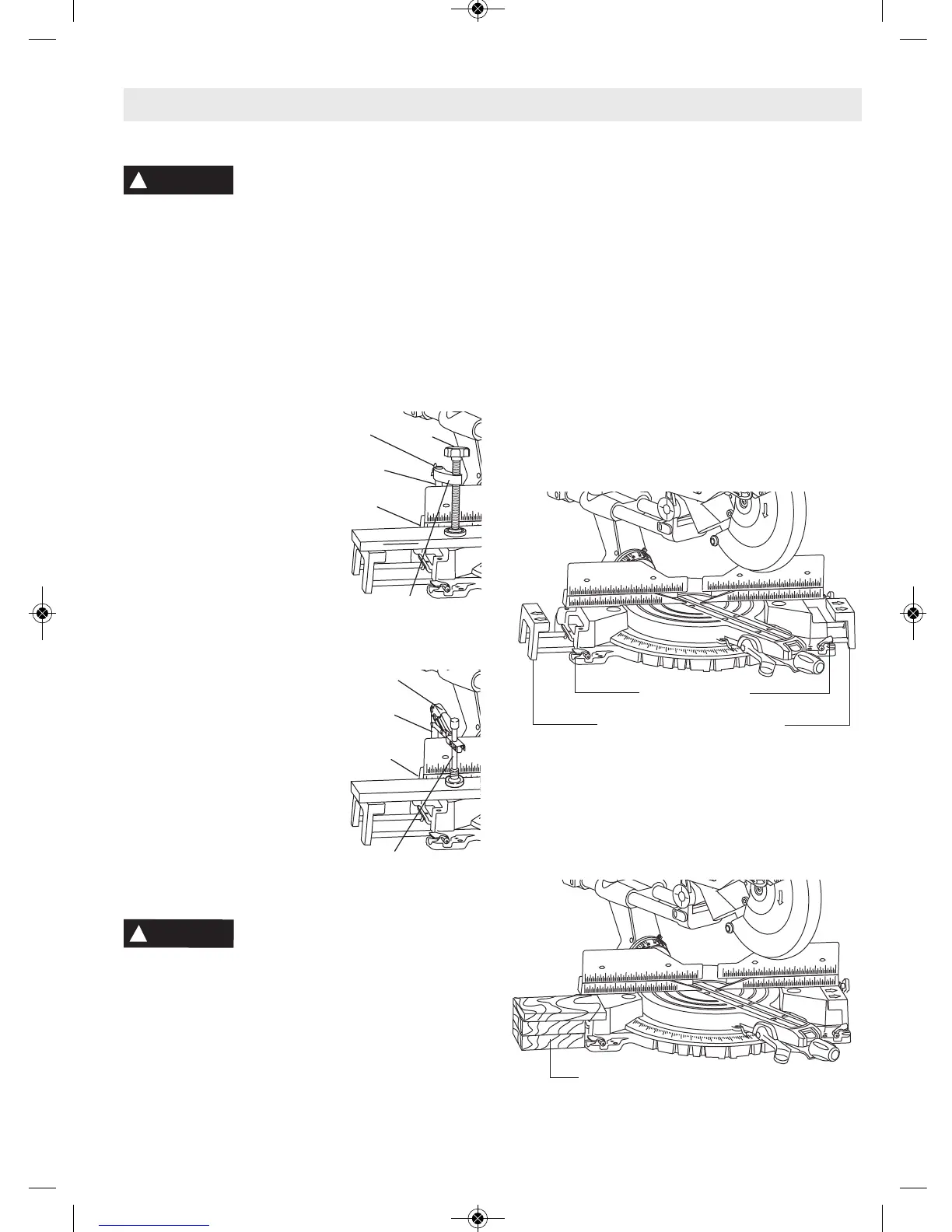
;0<?B- The clamp easily secures a workpiece in
either of two (2) clamp holes behind the fence
(Figure 21 & 21a).
Minimum of 1/2" of knurl must engage clamp post
to be effective.
Adjust screw if necessary to clear fence or for large
differences in wood heights.
,>A:?8424;0<? ">34;=;H
1. Insert clamp post into clamp hole.
2. Loosen wing nut and ad-
just arm to proper height,
and securely tighten wing
nut.
3. Rotate screw knob of
the clamp clockwise to
tighten, counter-clockwise
to loosen.
4. Move the head assembly
to check clearance with
clamp.
&D82:2C8>=;0<?">34;>=;H
1. With clamp in open (lever
raised) position, insert
clamp into clamp post until
rubber foot comes into
contact with material.
2. Press down on lever to
tighten clamp.
3. Move the head assembly
to check clearance with
clamp.
4. Pull up on lever to release clamp.
There may be extreme compound
cuts where clamp cannot be used.
Support workpiece with hand outside No Hands
Zone. >=>CCAHC>2DCB7>AC?8424B that cannot
be clamped and cause your hand to be in the No
Hands Zone.
>A8I>=C0;;0<? The optional MS1228 crown
stop can be mounted on either side of the tool and
holds the workpiece firmly against the fence.
>=E4=C8>=0;;0<?B – and other hold down de-
vices can be used to hold the workpiece firmly
against the table and the fence.
!>=6F>A:?8424BD??>AC
(;838=60B4GC4=B8>=BThese extensions pro-
vide extra workpiece support and are especially
useful when cutting long workpieces. To reposition
the extensions, simply unlock the Base Extension
Clamping Levers, reposition the extensions, and re-
lock the levers (Figure 22). (See also Length Stop
on page 30.)
GCA0!>=60B4GC4=B8>='>3B The optional
MS1229 Base Extension Kit allow the 4310 or
4410’s base extensions to extend out to 50-1/2”.
Even after these longer rods are installed on the
base, the base extensions can be fully retracted for
transportation and storage.
;>2:B - Long pieces need extra support. The base
height (3-3/4") is designed to match the standard
lumber of two 2x’s and one 1x. Boards of these
thicknesses can be used to create auxiliary support
extensions for long workpieces (Figure 23).
!
WARNING
!
WARNING
(;838=60B4GC4=B8>=B
;0<?!4E4AB
)F>GSB0=3$=4GSB
86DA4;>2:(D??>AC
;0<?
%>BC
;0<?
>;4
,8=6
#DC
A<
=>1
;0<?
%>BC
;0<?
>;4
(2A4F'>3
!4E4A
86DA4,>A:?8424;0<?
86DA40&D82:2C8>=;0<?
86DA4(;838=60B4GC4=B8>=B
BM 2610012089 03-10 E:BM 2610012089 03-10 E 3/30/10 7:41 AM Page 22

Table of Contents

Related product manuals