EasyManua.ls Logo

Bosch D296 - Mounting

Bosch D296
32 pages
Print Icon
To Next Page IconTo Next Page
To Next Page IconTo Next Page
To Previous Page IconTo Previous Page
To Previous Page IconTo Previous Page
Loading...
Long-range beam smoke detectors Mounting | en 13
Bosch Security Systems, Inc. Installation manual 2017.03 | 7.0 | F.01U.068.899
4 Mounting
Notice!
Use this product in indoor, dry applications only.
1. Install a 4‑in. square or octagonal electrical box (or equivalent) to a rigid surface. Ensure
that the surface is not subject to movement or vibrations.
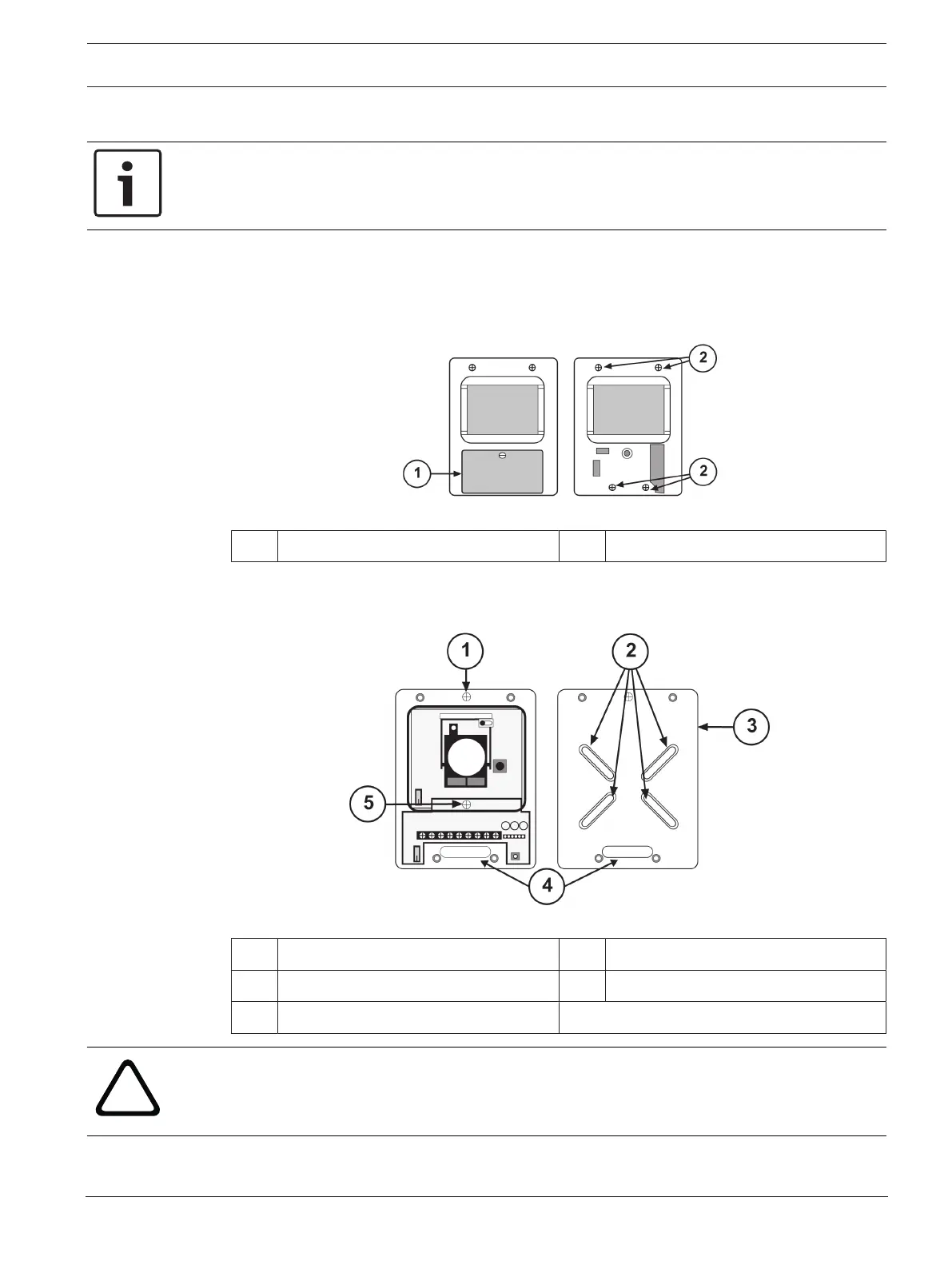
2. Remove the screw on the receiver's access door. Then remove the cover’s four screws
indicated in the following figure.
Figure4.1: Access Door and Cover
1 Access door 2 Cover mounting screws (4)
3. Unscrew the single mounting screw at the top of the circuit board carrier plate and
separate the plates See the following figure.
Figure4.2: Removing the Back Plate
1 Remove screw to expose back plate 4 Wiring entrance
2 Mounting slots (4) 5 Do not remove
3 Back Plate
!
Warning!
Remove power to all wiring before proceeding.
4. Route the wiring from the electrical box through the wire entrance. If you are going to
connect a D344‑RL or D344‑RT to the receiver, route that wiring also.

Other manuals for Bosch D296

Related product manuals