EasyManua.ls Logo

Bowflex Power Pro - Chest Bar Assembly Instructions

Bowflex Power Pro
27 pages
Print Icon
To Next Page IconTo Next Page
To Next Page IconTo Next Page
To Previous Page IconTo Previous Page
To Previous Page IconTo Previous Page
Loading...
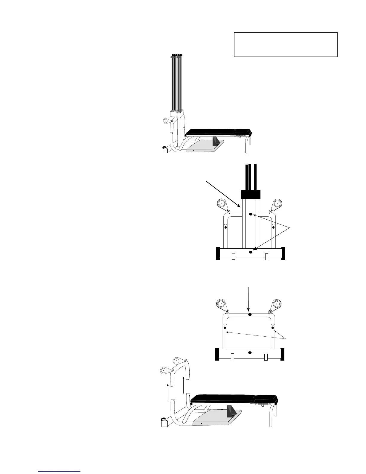
Chest Bar Assembly Instructions
Step 2:
Remove indicated bolts going through pulley
frame and Vertical Main Frame.
Remove the Vertical Main Frame with Rod Pack
and set aside.
Note:
Do not lose, these bolts will need to
be used in a later step.
Step 1:
Slide Seat to end of seat rail and lower
to flat position.
Step 4:
Remove U-Bar from machine base.
Step 3:
Remove bolts connecting U-Bar to machine base.
Note:
Do not lose, these bolts will need to
be used in a later step.
15
Pulley Frame
Remove both bolts
Components for this assembly
are in a box labeled
Chest Bar Attachment
Vertical Main Frame
Remove both top
and bottom bolt

Other manuals for Bowflex Power Pro