EasyManua.ls Logo

Bowflex Ultimate 51370 - Page 97

Bowflex Ultimate 51370
110 pages
Print Icon
To Next Page IconTo Next Page
To Next Page IconTo Next Page
To Previous Page IconTo Previous Page
To Previous Page IconTo Previous Page
Loading...
A-9
Figure L
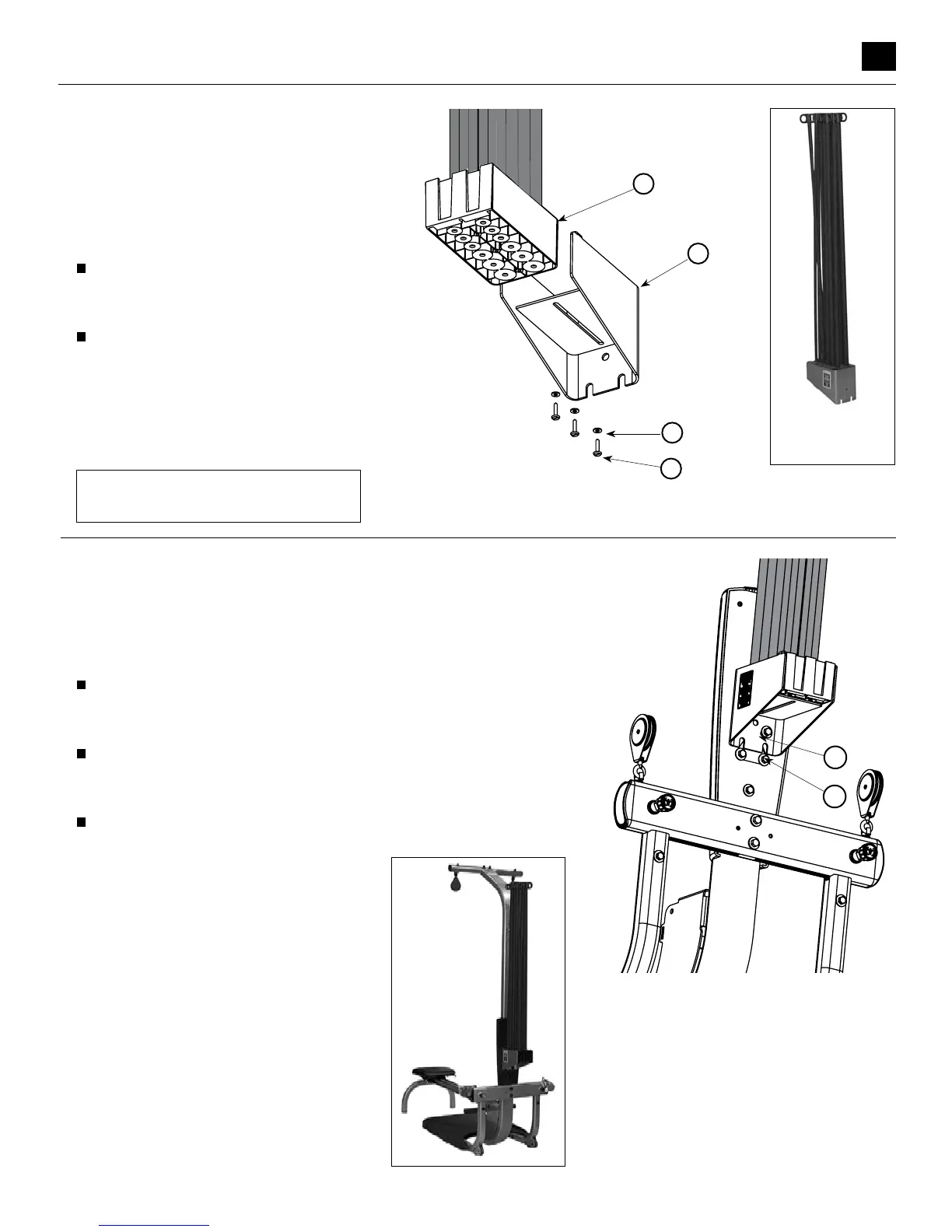
Step 11: ROD BOX INSTALLATION
Locate the following parts for this step:
Rod box with Power Rods
®
(Item #23)
Rod box frame (Item #24)
Three (3) #10X1” self tapping screw
(Item #45)
Three (3) 1/4” washers (Item #55)
Slide rod box with Power Rods
®
(Item
#23) into rod box frame (Item #24)
as shown in Figure L.
Tighten three (3) #10X1” screws (Item
#45) with three (3) 1/4” washers (Item
#55) through the slot in rod box frame
(Item #24) and into the screw bosses
in the bottom of the rod box with Power
Rods
®
(Item #23) as shown
in Figure L.
23
24
55
45
Step 12: ROD BOX FRAME INSTALLATION
Locate the following parts for this step:
Rod Box with Power Rods
®
with frame (Items #23 & 24)
Three (3) 3/8”X3/4” bolts (Item #46)
Three (3) 3/8” washers (Item #54)
Start two (2) 3/8”X3/4” bolts (Item #46) with 3/8” washers
(Item #54) into the lower two holes in the rear of the lower lat
tower (Item #1) as shown in Figure M.
Slide the rod box frame (Assembly #24) onto the two bolts
making sure the rod box frame is behind the washers as shown
in Figure M.
Thread the third 3/8”X3/4” bolt (Item #46) into the top hole of
the rod box frame (Item #24). Securely tighten all bolts.
54
46
Figure M
Unit appears like
this following this
assembly step
Unit appears like
this following
this assembly
step
(shown with
optional lat
tower)
Components for this step
are in Box 1 & Box 4
CAUTION:
When hooking up the Power Rods
®
,
do not stand directly over the tops of
the rods. Stand off to the side while
connecting and disconnecting the
Power Rods
®
from the cables.
Assembling Your Bowflex
®
Ultimate

Table of Contents

Related product manuals