EasyManua.ls Logo

Bradley LD-3010 - Desagüe Opcional y Sifón en P

Default Icon
37 pages
Print Icon
To Next Page IconTo Next Page
To Next Page IconTo Next Page
To Previous Page IconTo Previous Page
To Previous Page IconTo Previous Page
Loading...
Installation LD-3010 Series
Bradley • 215-1219 Rev. Q: ECO 19-08-037B 2/27/2020 35
3
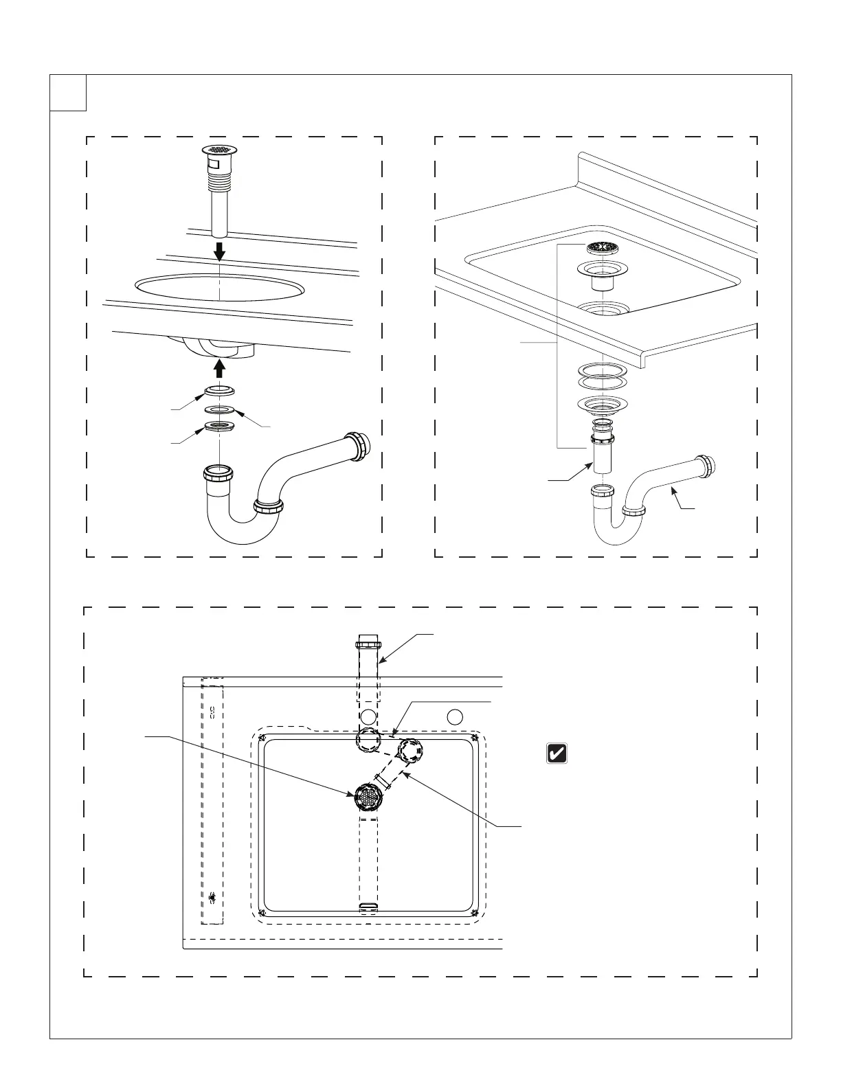
Desagüe opcional y sifón en P
Goma
Fibra
Codo de sifón en P
Desagüe
Sifón en P girado hacia atrás
para encajar con el filtro.
Codo del filtro que se gira
hacia el muro posterior.
Palangana rectangular
SL-TR1 con desagüe
El filtro y el sifón en P que se
ensambla según se muestra
para encajar correctamente
el panel de acceso.
Palangana
ovalada SL-TO1
con desagüe
Tuerca
Sifón de la
parte superior
de ancho 4½"
(269-1863)
Pieza inferior
1½" x 4" (129-065)
sifón en P
1½"
(S29-094)
Palangana Serie-
HS con desagüe

Related product manuals