EasyManua.ls Logo

Buehler ISOMET 2000 - Page 24

Buehler ISOMET 2000
36 pages
Print Icon
To Next Page IconTo Next Page
To Next Page IconTo Next Page
To Previous Page IconTo Previous Page
To Previous Page IconTo Previous Page
Loading...
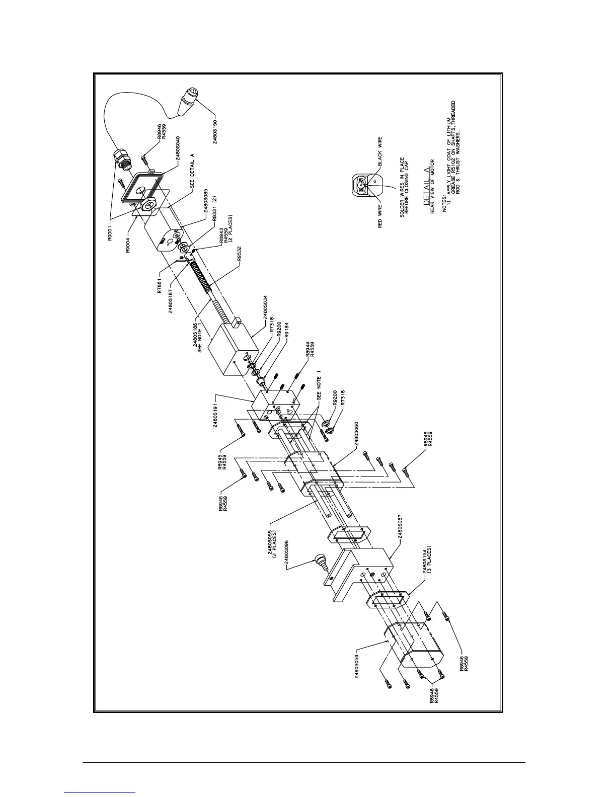
Figure 18 Parts Diagram for ISOMETâ„¢ 2000 Precision Saw
22
MA112480-20 03/06/00

Related product manuals