EasyManua.ls Logo

CAME BXL04AGS - Installation Basics and Diagram

CAME BXL04AGS
96 pages
Go to English
Print Icon
To Next Page IconTo Next Page
To Next Page IconTo Next Page
To Previous Page IconTo Previous Page
To Previous Page IconTo Previous Page
Loading...
117
211
349
105
160
300
170
298
149 149
1
10
2
2
3
6
6
4
7
8
5
9
7
p. 7 - Manual FA00000-EN - 02/2018 - © CAME S.p.A. - "Translated original instructions"
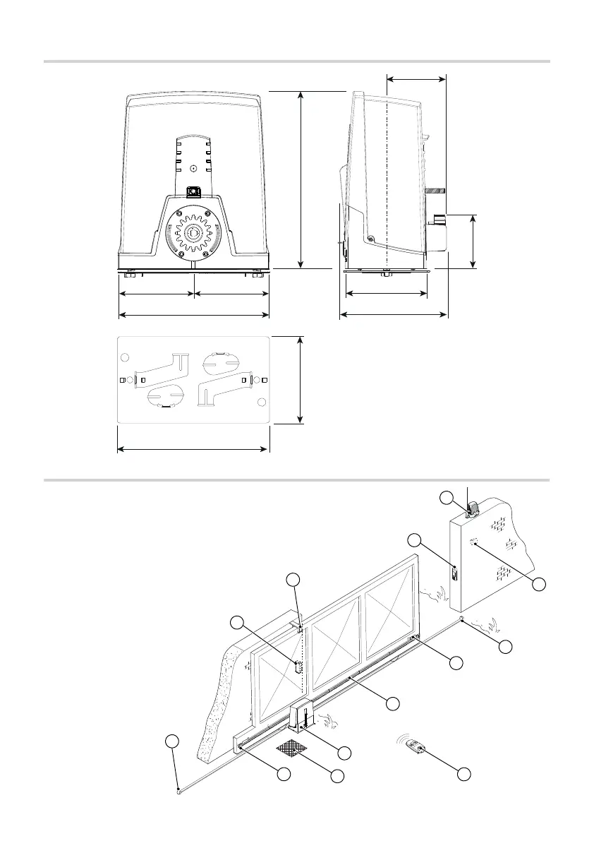
DIMENSIONS (MM)
STANDARD INSTALLATION
1. Operator
2. Limit-switch fins
3. Rack
4. Key-switch selector
5. Flashing light
6. Photocells
7. Mechanical gate stop
8. Transmitter
9. Slide guides
10. Junction pit

Other manuals for CAME BXL04AGS

Related product manuals