EasyManua.ls Logo

Cameron 288A - Model 288 A Side View; Model 288 A Front View

Default Icon
56 pages
Print Icon
To Next Page IconTo Next Page
To Next Page IconTo Next Page
To Previous Page IconTo Previous Page
To Previous Page IconTo Previous Page
Loading...
35
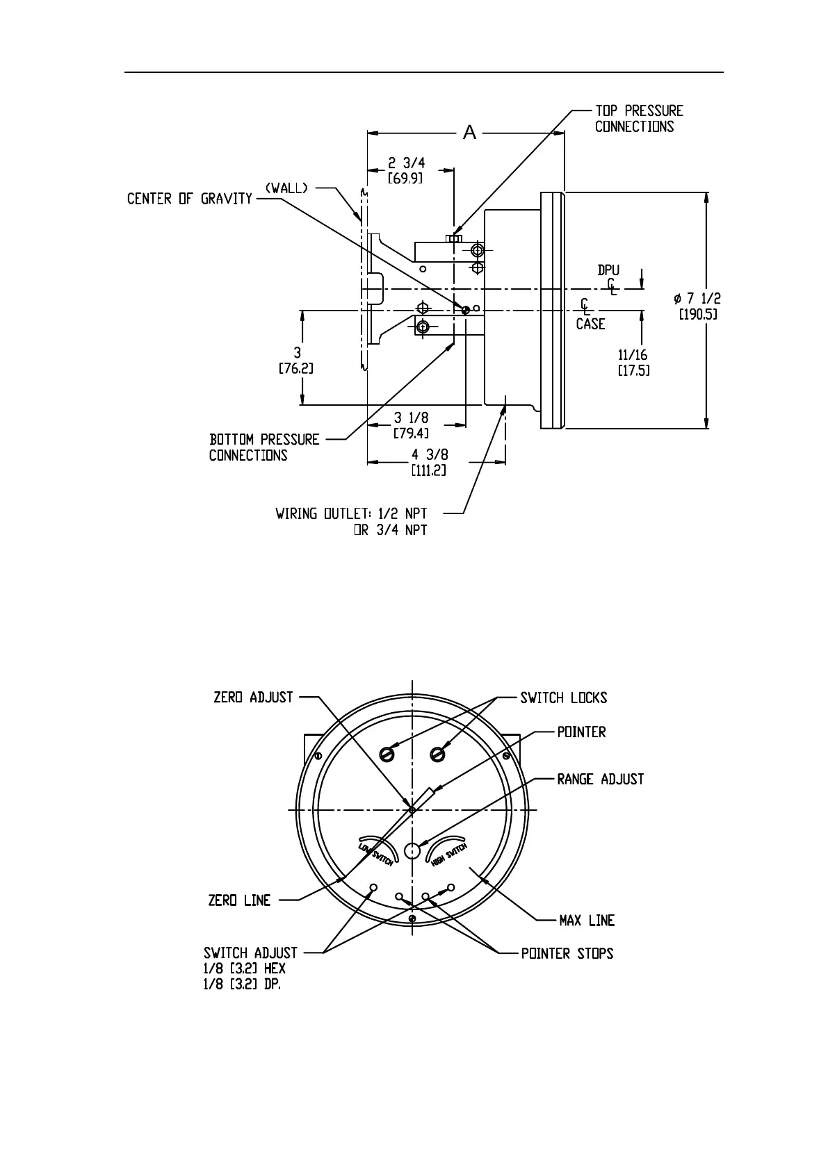
Model 288A Differential Pressure Indicating Switch Section 5
Figure 5.2—Model 288A, side view
(see table in Figure 5.1, page 34, for Dim. A measurements)
Figure 5.3—Model 288A, front view