EasyManua.ls Logo

Cameron 288A - Section 5-Dimensional Drawings; Model 288 A Rear View

Default Icon
56 pages
Print Icon
To Next Page IconTo Next Page
To Next Page IconTo Next Page
To Previous Page IconTo Previous Page
To Previous Page IconTo Previous Page
Loading...
34
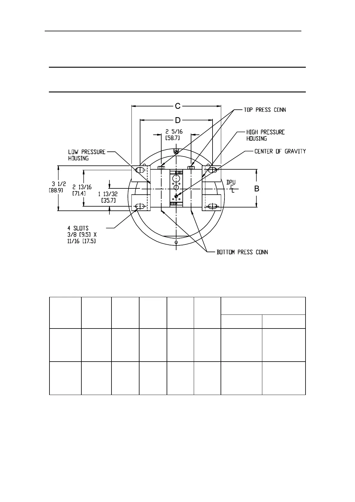
Section 5 Model 288A Differential Pressure Indicating Switch
S ection 5—Dimensional Drawings
IMPORTANT: For DPU dimensional information, refer to DPU Dimensional Drawings,
page A-19.
Figure 5.1—Model 288A, rear view
Pressure
Rating
PSI
(MPa)
Housing
Material
Dim. A
inches
(mm)
Dim. B
inches
(mm)
Dim. C
inches
(mm)
Dim. D
inches
(mm)
Pressure Connection
(Note 1)
Top Bottom
500 to
1500
(3.4 to
10.3)
ALL
6 1/4
(158.8)
2 15/16
(74.6)
6 15/16
(176.2)
5 5/8
(142.9)
1/2" NPT
1/2" NPT
1/4" NPT
1/4" NPT
1/4" NPT
1/2" NPT
1/4" NPT
1/2" NPT
3000 to
6000
(20.7 to
68.9)
ALL
6 3/8
(161.9)
3 1/4
(82.5)
7 5/16
(185.7)
6
(152.4)
1/2" NPT
1/2" NPT
1/4" NPT
1/4" NPT
1/4" NPT
1/2" NPT
1/4" NPT
1/2" NPT
1. Can be rotated 180º in the eld.
2. All Standard pipe fi ttings furnished by customer.
3. Metric conversions are approximate.