EasyManua.ls Logo

Cameron 288A - Indicating Switch

Default Icon
56 pages
Print Icon
To Next Page IconTo Next Page
To Next Page IconTo Next Page
To Previous Page IconTo Previous Page
To Previous Page IconTo Previous Page
Loading...
4
Section 1 Model 288A Differential Pressure Indicating Switch
Indicating Switch
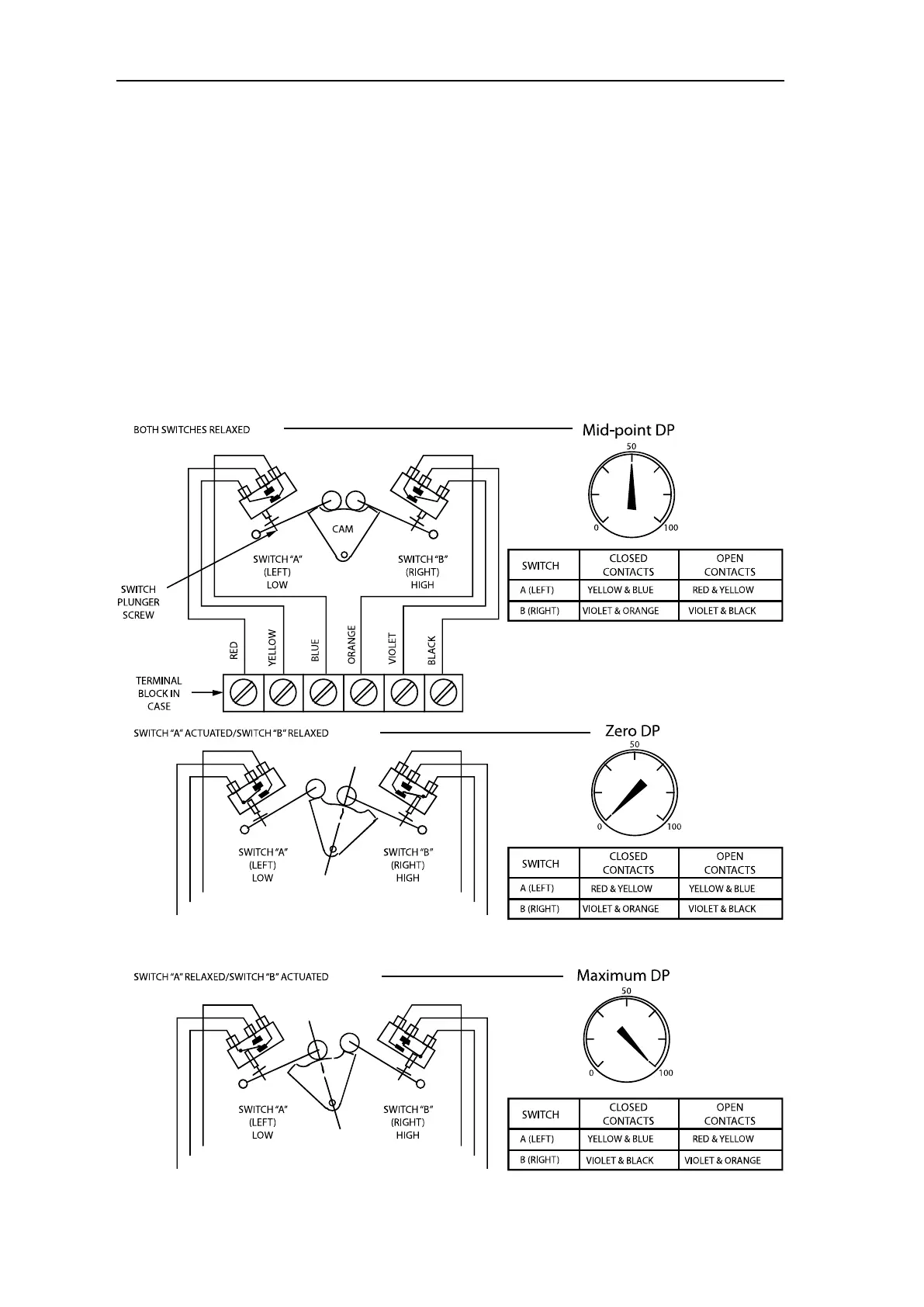
(refer to Figure 1.2, Figures 2.1 to 2.6, and Table 2.1)
Rotation of the DPU torque tube shaft is coupled through connecting linkage
within the switch case to move the pointer across the scale plate. An actuat-
ing cam, directly connected to the torque tube shaft, rotates with the motion
of the shaft. Two cam follower roller/actuator arm assemblies, one for each
switch, respond to torque tube rotation by opening and closing the switches as
they ride on and off the cam. The levels of diff erential pressure at which the
switches actuate are adjustable with high and low alarm switch adjustments
on the scale plate.
F igure 1.2—Switch actuation example