EasyManua.ls Logo

Cameron 288A - Piping Diagrams

Default Icon
56 pages
Print Icon
To Next Page IconTo Next Page
To Next Page IconTo Next Page
To Previous Page IconTo Previous Page
To Previous Page IconTo Previous Page
Loading...
A-6
Appendix A Model 224 Differential Pressure Unit
Mount the DPU on a solid support to minimize vibration. Tighten all
points, using a suitable sealant compound; leaks in piping can cause
measurement errors.
Rotate the housing as necessary to place the pressure connection in the
proper position. The DPU has connections in the pressure housings to
accommodate various pipe sizes (refer to DPU Assembly Drawing and
Parts List, page A-17).
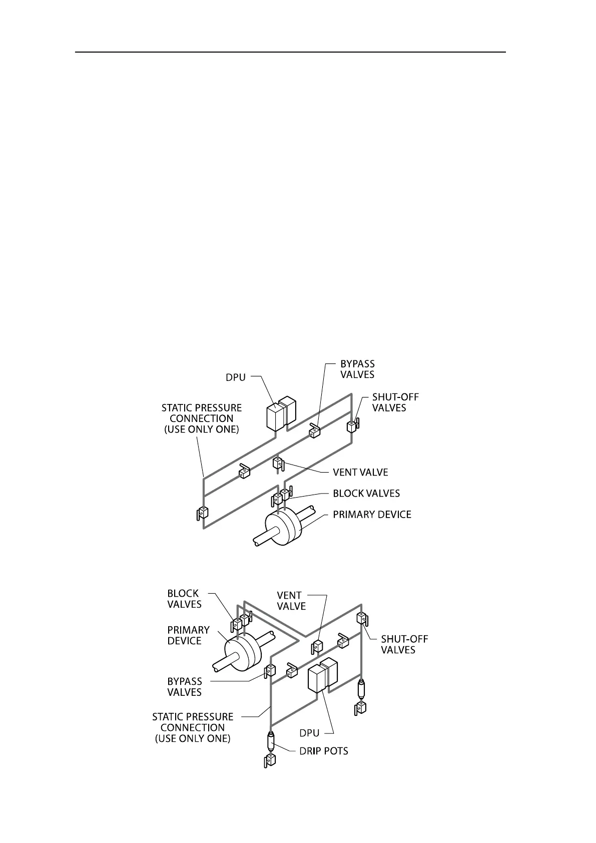
Install a valve manifold between the DPU and the source of diff erential
pressure to facilitate operation and checking of the DPU.
Install all shutoff and bypass valves so they are easily accessible from the
front of the instrument. Locate block valves at the source of diff erential
pressure.
Piping Diagrams
Diagrams for typical and special ow applications are presented on the fol-
lowing pages. Use the diagram best suited for the application as a guide for
piping confi guration.
Figure A.3—Gas Flow, DPU Above Run
Figure A.4—Gas Flow, DPU Below Run