EasyManua.ls Logo

Canon XM2 - List of Menus; Zebra Pattern

Canon XM2
159 pages
Print Icon
To Next Page IconTo Next Page
To Next Page IconTo Next Page
To Previous Page IconTo Previous Page
To Previous Page IconTo Previous Page
Loading...
20
E
Preparations
CAM. SET UP
CSTM PRESET
VCR SET UP
DISP. SET UP
SYSTEM
CUSTOM KEY
TITLE MIX
RETURN
CAM. MENU SEL. SETSET
MENUCLOSE
1
3
5
2
4
6
7
8
1 Camera Set Up Submenu
2 Custom Preset Submenu
3 VCR Set Up Submenu
4 Display Set Up Submenu
5 System Submenu
6 Custom Key Submenu
7 Title Mix Submenu
8 Close Main Menu
2 CAM. MENU
Set the POWER switch to and the TAPE/CARD switch to .
There are 7 submenus within the CAM. MENU.
TAPE
CAMERA
D. ZOOM
MOVIE MODE
IMAGE S.
i
AE SHIFT
16:9
ZEBRA
ZEBRA LEVEL
ZOOM GRIP
OFF
NORMAL
ON
±0
OFF
OFF
90
VARIABLE
CAM. SET UP
SEL. SETSET
MENUCLOSE
••••••
••
••
••••
••••••••
•••••••
•••
q
e
t
u
w
r
y
i
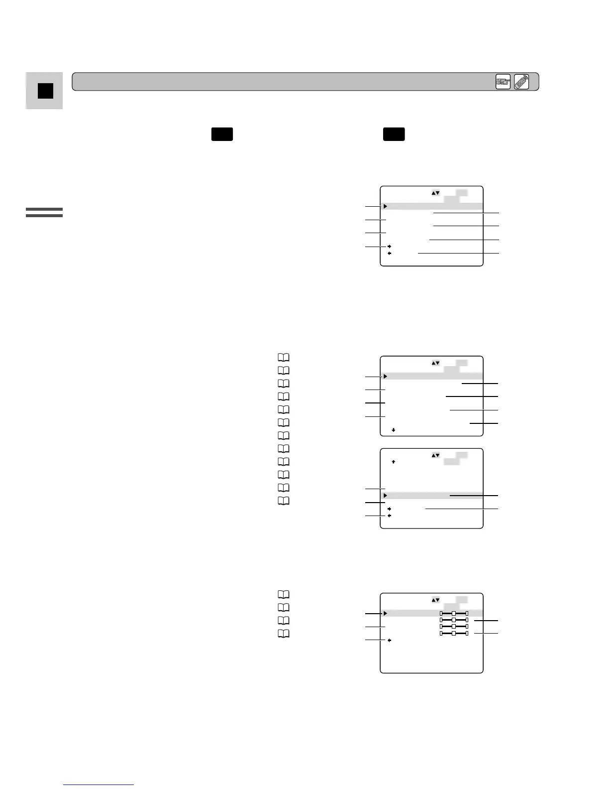
ZEBRA
ZEBRA LEVEL
ZOOM GRIP
ZOOM HANDLE
CLEAR SCAN
SELF-TIMER
INTERVAL
RETURN
OFF
90
VARIABLE
MEDIUM
–––
OFF
CAM. SET UP
SEL. SETSET
MENUCLOSE
•••••••
•••
••
••
o
!1
!3
!0
!2
1 Camera set up Submenu
q Digital Zoom.......................................... 40
w Movie Mode.......................................... 48
e Image Stabilizer ..................................... 44
r AE Shift ................................................. 80
t 16:9 Effect............................................. 35
y Zebra Pattern......................................... 83
u Zebra Pattern Level................................ 83
i Grip Zoom Speed................................... 40
o Handle Zoom Speed .............................. 40
!0 Clear Scan ............................................. 84
!1 Self-Timer.............................................. 69
!2 Interval Timer......................................... 67
!3 Return
COLOR GAIN
COLOR PHASE
SHARPNESS
SETUP LEVEL
RETURN
–+
GR
–+
–+
CSTM PRESET
SEL. SETSET
MENUCLOSE
••
•••
!4
!6
!8
!5
!7
2 Custom Preset Submenu
!4 Colour Gain........................................... 81
!5 Colour Phase ......................................... 81
!6 Sharpness.............................................. 81
!7 Setup Level............................................ 82
!8 Return
Turn to the appropriate page for a detailed explanation of each function.
List of Menus

Table of Contents