EasyManua.ls Logo

Canon XM2 - Lcd Brightness

Canon XM2
159 pages
Print Icon
To Next Page IconTo Next Page
To Next Page IconTo Next Page
To Previous Page IconTo Previous Page
To Previous Page IconTo Previous Page
Loading...
24
E
Preparations
QUALITY
IMAGES RES.
FILE NOS.
SHTR SOUND
RETURN
FINE
1488
×
1128
CONTINUOUS
ON
CARD SET UP
SEL. SETSET
MENUCLOSE
•••••
•••
••
!4
!6
!8
!5
!7
3 Card Set Up Submenu
!4 Image Quality ...................................... 113
!5 Image Resolution................................. 114
!6 File Numbers........................................ 115
!7 Shutter Sound...................................... 115
!8 Return
LCD BRIGHT
EVF BRIGHT
LCD MIRROR
TV SCREEN
GUIDE INFO
CARD ACCESS
DEMO MODE
RETURN
DISP. SET UP
SEL. SETSET
MENUCLOSE
••
••
••
•••
••
•••
+
+
ON
OFF
ON
ON
ON
!9
@1
@3
@5
@0
@2
@4
@6
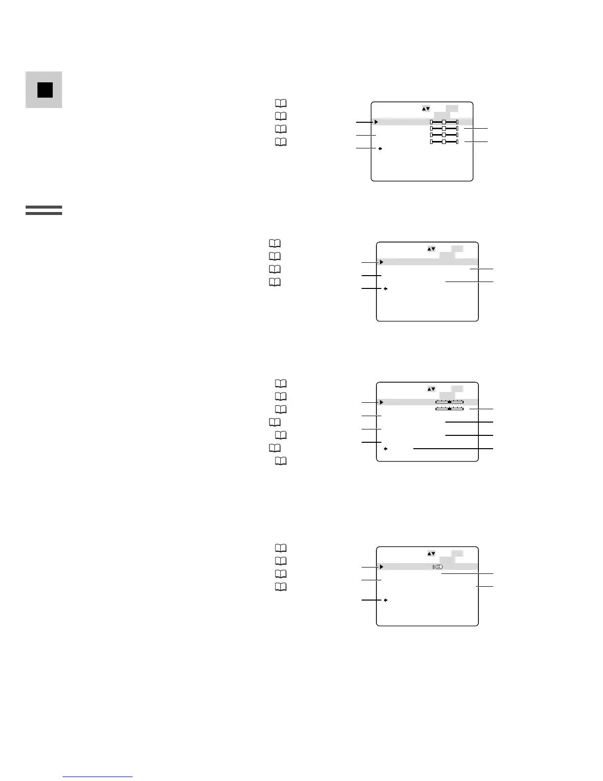
4 Display Set Up Submenu
!9 LCD Brightness ...................................... 42
@0 Viewfinder Brightness............................ 42
@1 LCD Mirror Mode .................................. 42
@2 TV Screen ............................................ 148
@3 Guide Information ................................. 32
@4 Card Access Display............................. 114
@5 Demonstration Mode............................. 37
@6 Return
WL. REMOTE
BEEP
T. ZONE/DST
D/TIMR SET
RETURN
SYSTEM
SEL. SETSET
MENUCLOSE
•••
••••••••
••
••
1
ON
–––
––. –––. ––––
––:––:–– ––
@7
@9
#1
@8
#0
5 System Submenu
@7 Wireless Controller................................. 28
@8 Beep...................................................... 37
@9 Time Zone/Daylight Saving Time............ 30
#0 Setting Date/Time.................................. 32
#1 Return
COLOR GAIN
COLOR PHASE
SHARPNESS
SETUP LEVEL
RETURN
–+
GR
–+
–+
CSTM PRESET
SEL. SETSET
MENUCLOSE
••
•••
o
!1
!3
!0
!2
2 Custom Preset Submenu
o Colour Gain........................................... 81
!0 Colour Phase ......................................... 81
!1 Sharpness.............................................. 81
!2 Setup Level............................................ 82
!3 Return

Table of Contents