EasyManua.ls Logo

Canon XM2 - Recording Mode

Canon XM2
159 pages
Print Icon
To Next Page IconTo Next Page
To Next Page IconTo Next Page
To Previous Page IconTo Previous Page
To Previous Page IconTo Previous Page
Loading...
22
E
Preparations
TITLE SELECT
CREATE TITLE
RETURN
TITLE MIX
SEL. SETSET
MENUCLOSE
$5
$7
$6
7 Title Mix Submenu
$5 Selecting a Title ................................... 128
$6 Creating a Title.................................... 127
$7 Return
REC MODE
OUTPUT CH
AUDIO DUB.
MIC
MIC ATT
AUDIO ATT
AUDIO MODE
AV
a
DV OUT
SP
L/R
AUDIO IN
NORMAL
OFF
OFF
16bit
OFF
VCR SET UP
SEL. SETSET
MENUCLOSE
••••
•••
••
•••••••••
•••••
•••
••
•••
q
e
t
u
o
w
r
y
i
1 VCR Set Up Submenu
q Recording Mode.................................... 35
w Output Channel................................... 110
e Audio Dubbing.................................... 106
r Microphone........................................... 54
t Microphone Attenuator................. 55, 106
y Audio Attenuator................................. 106
u Audio Mode .......................................... 54
i Analog-Digital Converter ..................... 102
o Return
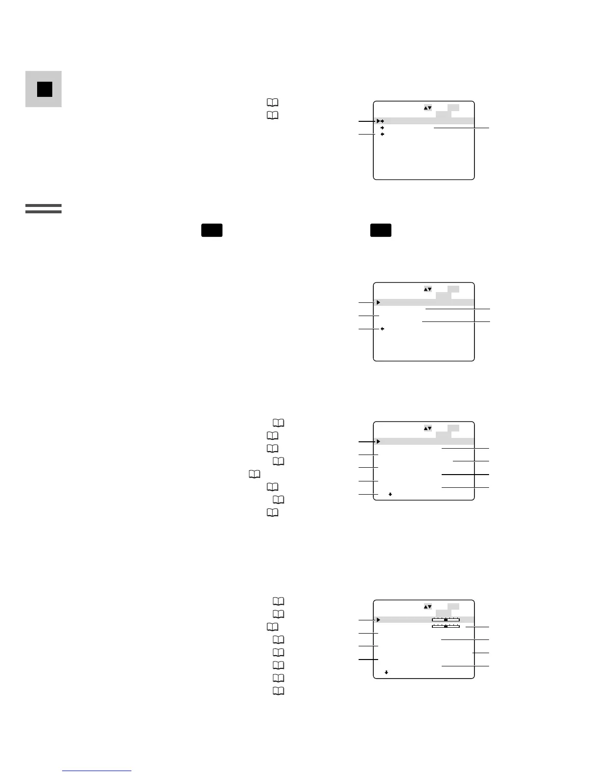
2 VCR MENU
Set the POWER switch to and the TAPE/CARD switch to .
There are 4 submenus within the VCR MENU.
TAPE
PLAY
(VCR)
VCR SET UP
DISP. SET UP
SYSTEM
CUSTOM KEY
RETURN
VCR MENU SEL. SETSET
MENUCLOSE
1
3
2
4
5
1 VCR Set Up Submenu
2 Display Set Up Submenu
3 System Submenu
4 Custom Key Submenu
5 Close Main Menu
LCD BRIGHT
EVF BRIGHT
DISPLAYS
6SEC. DATE
DATA CODE
D/TIME SEL.
CUSTOM KEY
AUDIO LEVEL
DISP. SET UP
SEL. SETSET
MENUCLOSE
••
••
••••
•••
•••
••
+
+
ON
OFF
DATE/TIME
DATE & TIME
ON
OFF
!0
!2
!4
!6
!1
!3
!5
!7
2 Display Set Up Submenu
!0 LCD Brightness ...................................... 42
!1 Viewfinder Brightness............................ 42
!2 Displays ............................................... 148
!3 6-Second Auto Date.............................. 90
!4 Data Code............................................. 89
!5 Selecting Date/Time............................... 88
!6 Custom Key Display............................... 56
!7 Audio Level Indicator............................. 55

Table of Contents

Other manuals for Canon XM2

Related product manuals