EasyManua.ls Logo

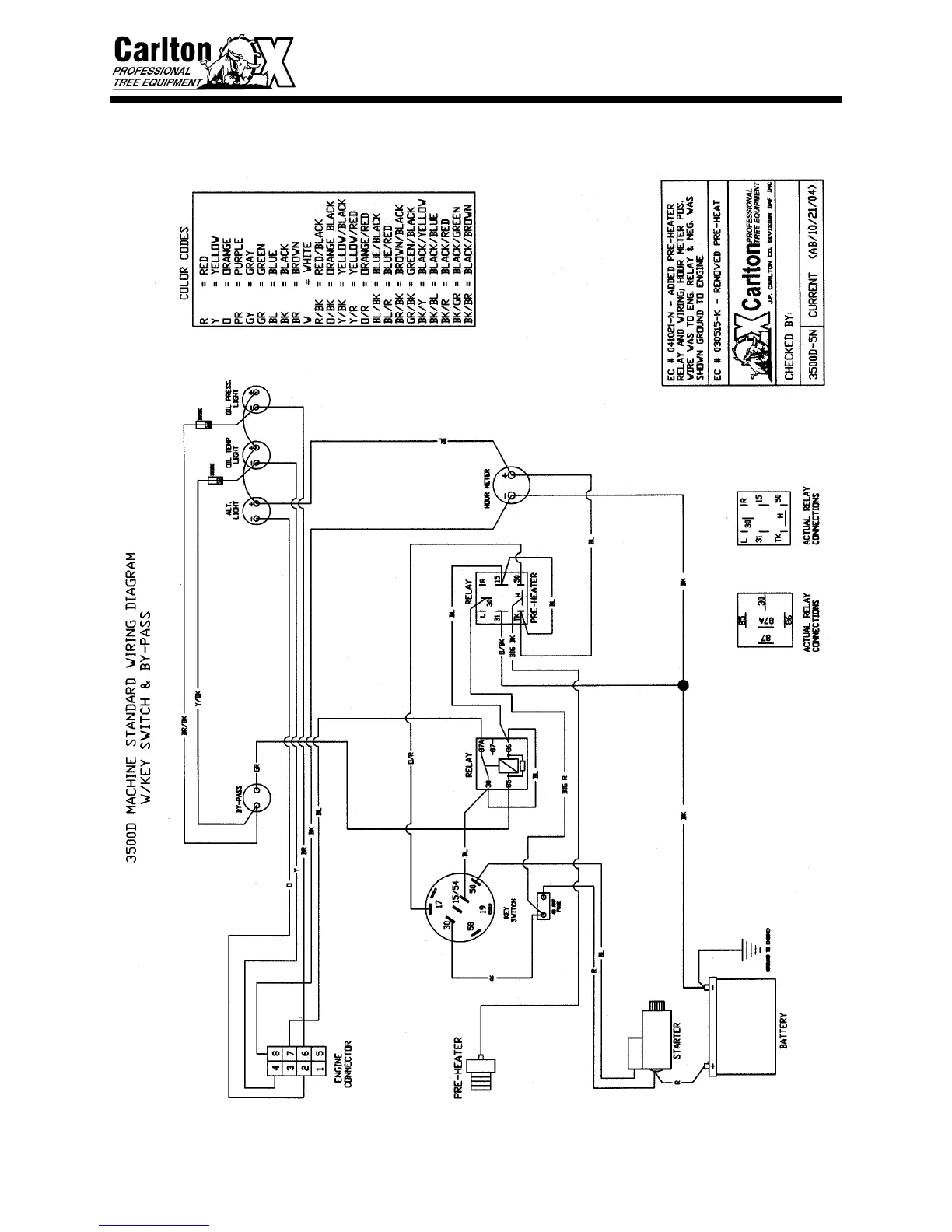
Carlton 3500D - Wiring Diagram

Carlton 3500D
129 pages
Print Icon
To Next Page IconTo Next Page
To Next Page IconTo Next Page
To Previous Page IconTo Previous Page
To Previous Page IconTo Previous Page
Loading...
3500D MACHINE WIRING
30
STANDARD WIRING DIAGRAM

Related product manuals