EasyManua.ls Logo

Carrier Ecologic Series 3 - EXD Troubleshooting Procedure

Carrier Ecologic Series 3
108 pages
To Next Page IconTo Next Page
To Next Page IconTo Next Page
To Previous Page IconTo Previous Page
To Previous Page IconTo Previous Page
Loading...
52
Table 38 — Illegal Configurations
(Alarm 50) Recognized by PSIO-1
EXD Troubleshooting Procedure —
Follow steps
below to diagnose and correct EXV/Economizer problems.
On 30HX units with economizers, verify that the valve for
the bubbler tube (bottom of economizer) is open. Check EXV
motor operation first. Press on the HSIO II keypad
and select the appropriate EXV. Press to move the
valve to 25%. You should be able to feel the actuator moving
by placing your hand on the EXV or economizer body (the ac-
tuator is located about one-half to two-thirds of the way up
from the bottom of the economizer shell). Press three
more times until the display reads 100% for a Target Percent
(waiting until actuator stops each time). A hard knocking
should be felt from the actuator when it reaches the top of its
stroke (can be heard if surroundings are relatively quiet). Press
again if necessary to confirm this. Press
four times to step the actuator closed in 25% increments, wait-
ing again in between each move. The actuator should knock
when it reaches the bottom of its stroke. If it is believed that the
valve is not working properly, continue with the checkout pro-
cedure below:
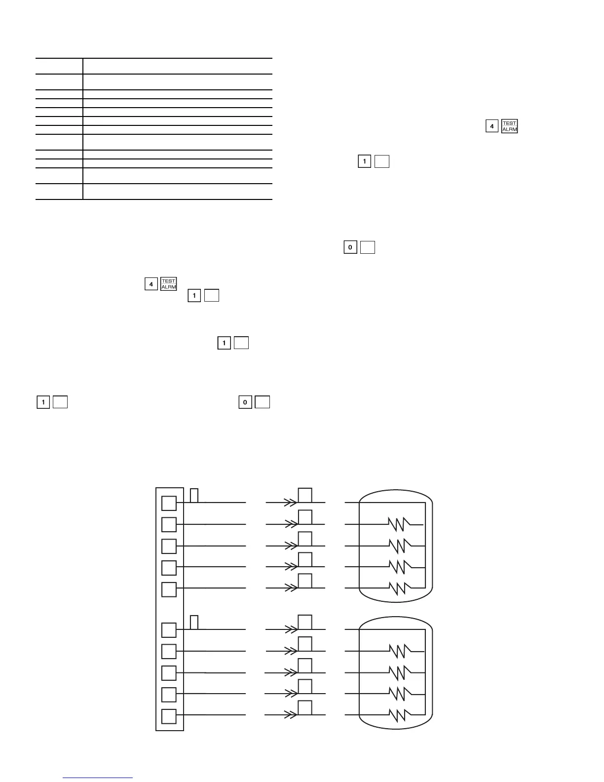
Check the EXV output signals at appropriate terminals on
EXV driver module (see Fig. 12). Connect positive test lead to
terminal 1 on the EXV driver for Circuit A and to terminal 7
for Circuit B. Set meter for approximately 20 vdc. Enter Valves
and Motor Master test subfunction by pressing on the
HSIO. The EXV for Circuit A will be displayed; if desired,
press the down arrow key for Circuit B. When at the desired
valve, press . The display should change to show a
Target Percent of 25%. The driver should drive the circuit EXV
under test. During the next several seconds, connect negative
test lead to pins 2, 3, 4, and 5 in succession (pins 8, 9, 10 and 11
for Circuit B). Voltage should rise and fall at each pin. If it re-
mains constant at a voltage or shows 0 volts, remove the con-
nector to the valve and recheck.
Press to close the circuit EXV. Check the DSIO
address setting (the address should be 50). If a problem still ex-
ists, replace the EXV driver module. If the voltage reading is
correct, the expansion valve and EXV wiring should be
checked. Check the EXV terminal strip and interconnecting
wiring.
1. Check color coding and wire connections. Make sure they
are connected to the correct terminals at the EXV driver and
EXV plug and that the cables are not crossed.
2. Check for continuity and tight connection at all pin
terminals.
Check the resistance of the EXV motor windings. Remove
the DSIO-EXV plug J4 terminal strip and check the resistance
between the common lead (red wire, terminal D) and remain-
ing leads, A, B, C, and E (see Fig. 12). The resistance should be
25 ohms ± 2 ohms.
CODE
NUMBER
ILLEGAL CONFIGURATION
DESCRIPTION
1
Incorrect Check Sum in configuration code
(factory or service code)
2 Unit type outside range of 1-3
3 Number of compressors in a circuit outside the range of 0-2
4 Air cooled chiller with a fan type outside the range of 1-16
5 Air cooled chiller with Low Temperature Brine fluid
6 Water cooled chiller configured for air cooled head pressure
7
Selecting both OAT and Space Temp sensors for External
Reset operation
8 Air cooled chiller with condenser water pump
9 Air cooled chiller with condenser thermistors
10
MOP set point is outside the range of 40 to 55 F
(4.4 to 12.8 C)
11
Maximum Condensing Temperature set point (MCT_SP) is
outside the range of 0 to 158 F (–17.8 to 70 C)
LEGEND
MOP Minimum Operating Temperature
OAT Outdoor Air Temperature
ENTER
ENTER
ENTER ENTER
ENTER
ENTER
GRN
WHT
BLK
BRN
D
C
E
B
A
GRN
WHT
BLK
BRN
D
C
E
B
A
EXV-A
EXV-B
7
2
1
1
2
3
4
5
8
9
10
11
EXV DRIVER BOARD, J4
RED
RED
ORN
YEL
BRN
BLK
RED
ORN
YEL
BRN
BLK
RED
EXV —
Electronic Expansion
Valve
Fig. 12 — EXV Cable Connections to EXV Driver Module, DSIO-EXV

Table of Contents

Related product manuals