EasyManua.ls Logo

Carrier X-POWER Series - Piping Diagrams and Valve Explanation

Carrier X-POWER Series
170 pages
To Next Page IconTo Next Page
To Next Page IconTo Next Page
To Previous Page IconTo Previous Page
To Previous Page IconTo Previous Page
Loading...
R410a DC Inverter 60Hz Carrier service manual
24 Specification & Performance
3. Piping Diagrams and Valve explanation
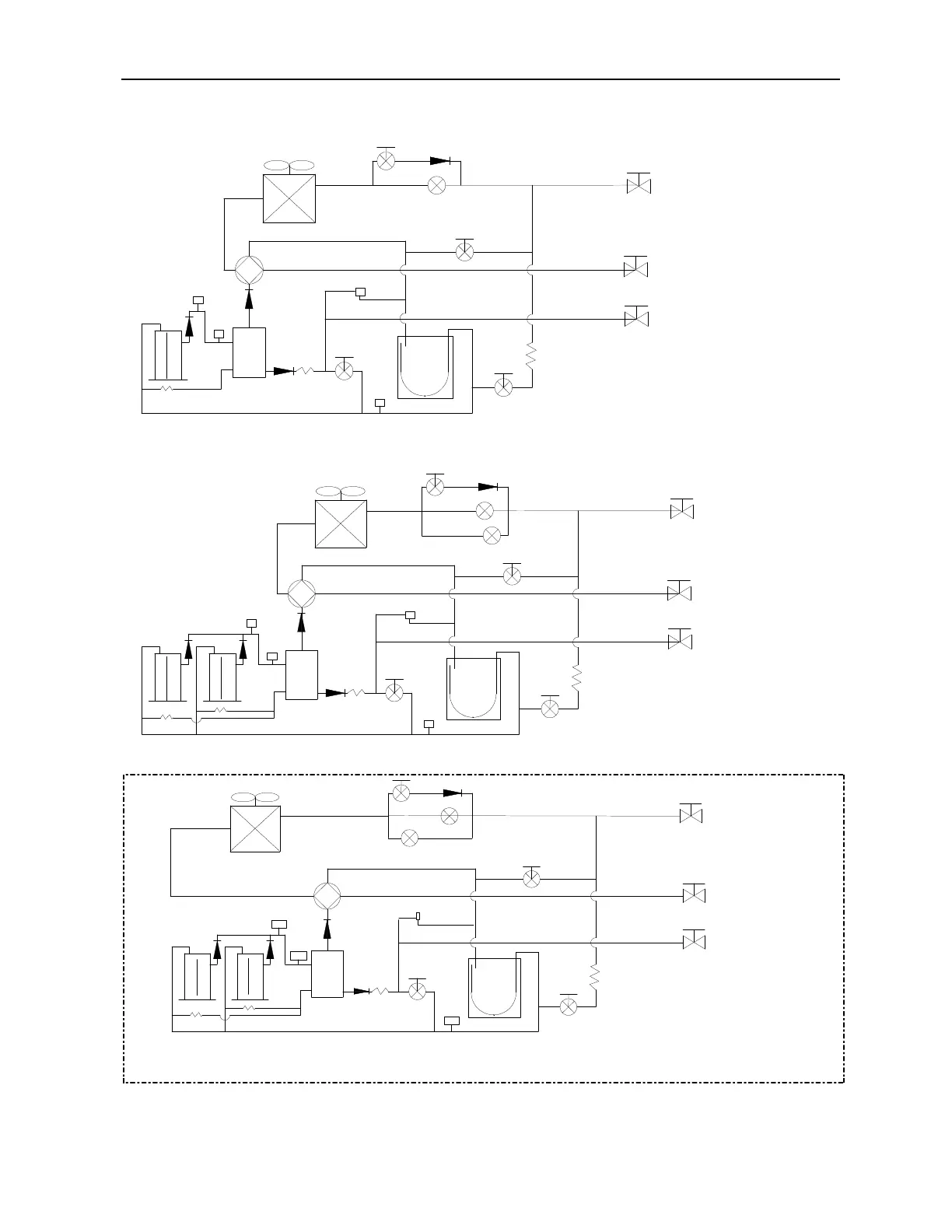
3.1 Piping Diagrams
8~10HP
Compressor
Inverter
Oil seperator
High pressure
switch
High pressure
sensor
DC fan
Heat exchanger
ST1
Unloading valve
SV6
EXV A
SV5
SV4
Low
pressure
switch
Low
pressure
receiver
SV2
Stop valve
(High pressure)
Stop valve
(Low pressure)
Oil balabce
12~16HP
Compressor
Inverter
Compressor
Inverter
Oil seperator
SV4
SV2
Low
pressure
receiver
Low
pressure
switch
EXV A
EXV B
SV5
Unloading valve
SV6
DC fan
Heat exchanger
ST1
Stop valve
(High pressure)
Stop valve
(Low pressure)
Oil balabce
Oil Balance
Stop Valve
(Low Pressure)
Stop Valve
(High Pressure)
Compressor
INVERTER
Compressor
FIX
Oil Separator
unloading valve
SV4
Heat Exchanger
DC Fan
EXV A
SV6
SV5
ST 1
EXV B
SV2
Low Pressure
Receiver
14~18HP
LPS
Low
Pressure
Switch
HPS
High Pressure
Switch
SENP
High
Pressure
Sensor
Remark:
1.8~10 HP models only have one inverter compressor.

Related product manuals