EasyManua.ls Logo

Casio CE-T300 - Page 39

Casio CE-T300
81 pages
Print Icon
To Next Page IconTo Next Page
To Next Page IconTo Next Page
To Previous Page IconTo Previous Page
To Previous Page IconTo Previous Page
Loading...
- 37 -
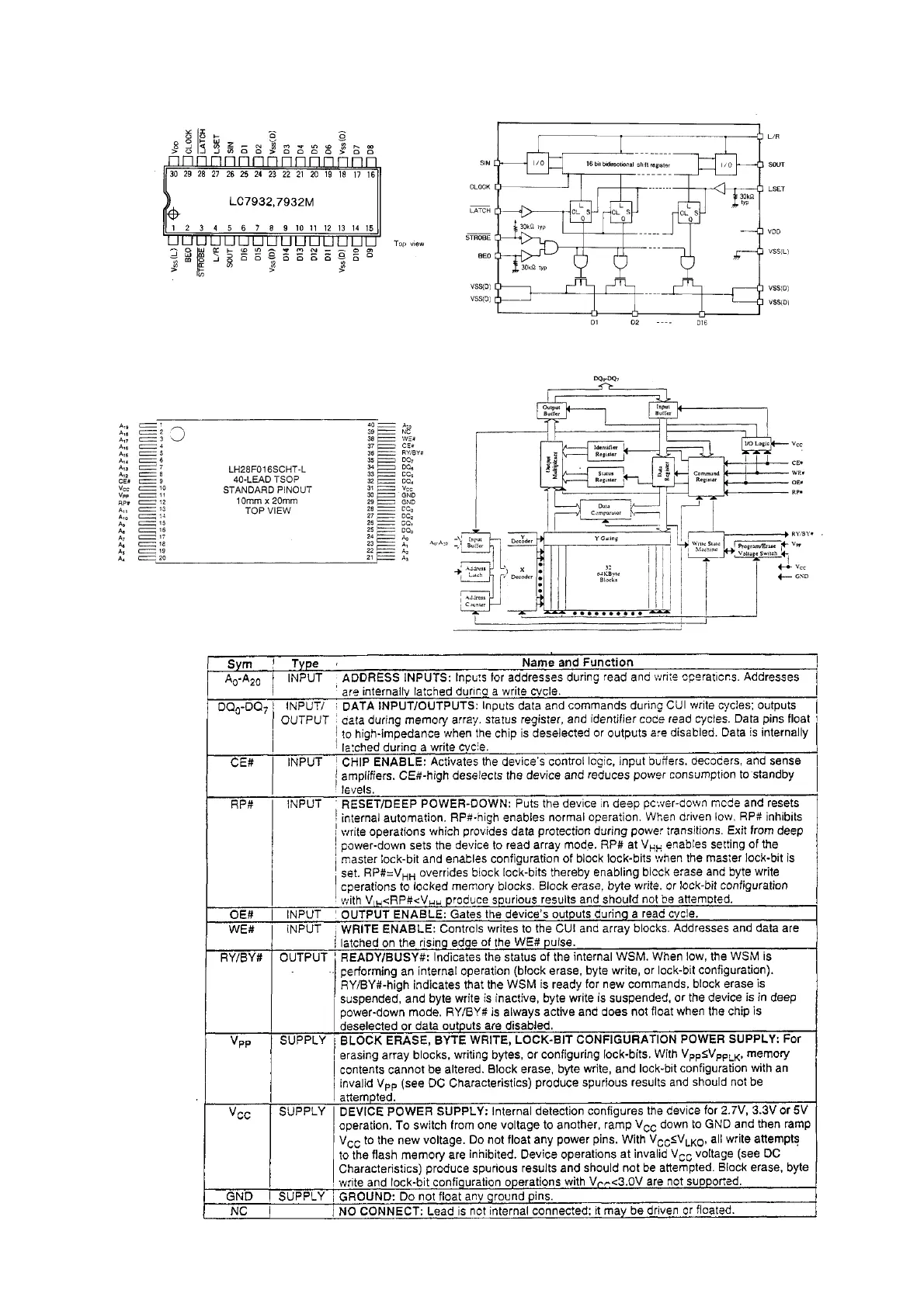
10. LC7932M-TE-R
11. LH28F016SCT-L95A

Other manuals for Casio CE-T300

Related product manuals