EasyManua.ls Logo

CESAB B 215 - Page 37

Default Icon
460 pages
Print Icon
To Next Page IconTo Next Page
To Next Page IconTo Next Page
To Previous Page IconTo Previous Page
To Previous Page IconTo Previous Page
Loading...
1-7
1
2
3
4
5
6
7
8
9
10
11
12
13
14
15
16
17
18
18
18
18
18
18
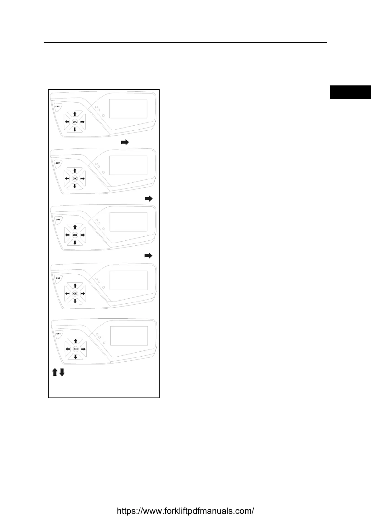
Setting BDI ADJ MIN
The indicator may be set to modify the minimum battery voltage at which the last square switches off
(indicator at 0%).
At the end of discharging, the density value of the battery elements must not fall below 1.13 kg/l
[POINT1]
Access the SERVICE menu (see chapter 3, paragraph
SERVICE MENU DESCRIPTION). Modify the value in the
SERVICE -> TRUCK CONF -> BATTERY -> menu,
parameter BDI ADJ MIN to increase or decrease the
maximum battery discharge.
Remarks:
Periodically check the electrolyte density in the battery
elements at the end of discharge.
If the density is lower than 1.13 kg/l, increase the
parameter BDI ADJ MIN by a value of +1.00% (0.24 V)
for every 0.01kg/l up to the limit of 1.13 kg/l.
Remarks: The values shown in the various figures are indicative
BDI ADJ MIN
- 4,00 %
SERVICE MENU
PASSWORD
TRUCK CONF
BATTERY
Press twice
Press OK and then 3 times
Press OK and then once
Press OK
to modify
OK to save/confirm
OUT to return to the previous menu
https://www.forkliftpdfmanuals.com/

Table of Contents

Related product manuals