EasyManua.ls Logo

Chamberlain 1200 - Installation Step 3: Attach T-rail to Bracket; Connecting T-rail to Header Bracket

Chamberlain 1200
40 pages
Print Icon
To Next Page IconTo Next Page
To Next Page IconTo Next Page
To Previous Page IconTo Previous Page
To Previous Page IconTo Previous Page
Loading...
Header
Bracket
Chain
Pulley
Bracket
Temporary
Support
Header Wall
Garage
Door
T-rail
Clevis Pin
5/16"x2-3/4 "
Ring Fastener
Header Bracket
Chain
Pulley
Bracket
T-rail
INCREASE TRAVEL
DOWN
UP
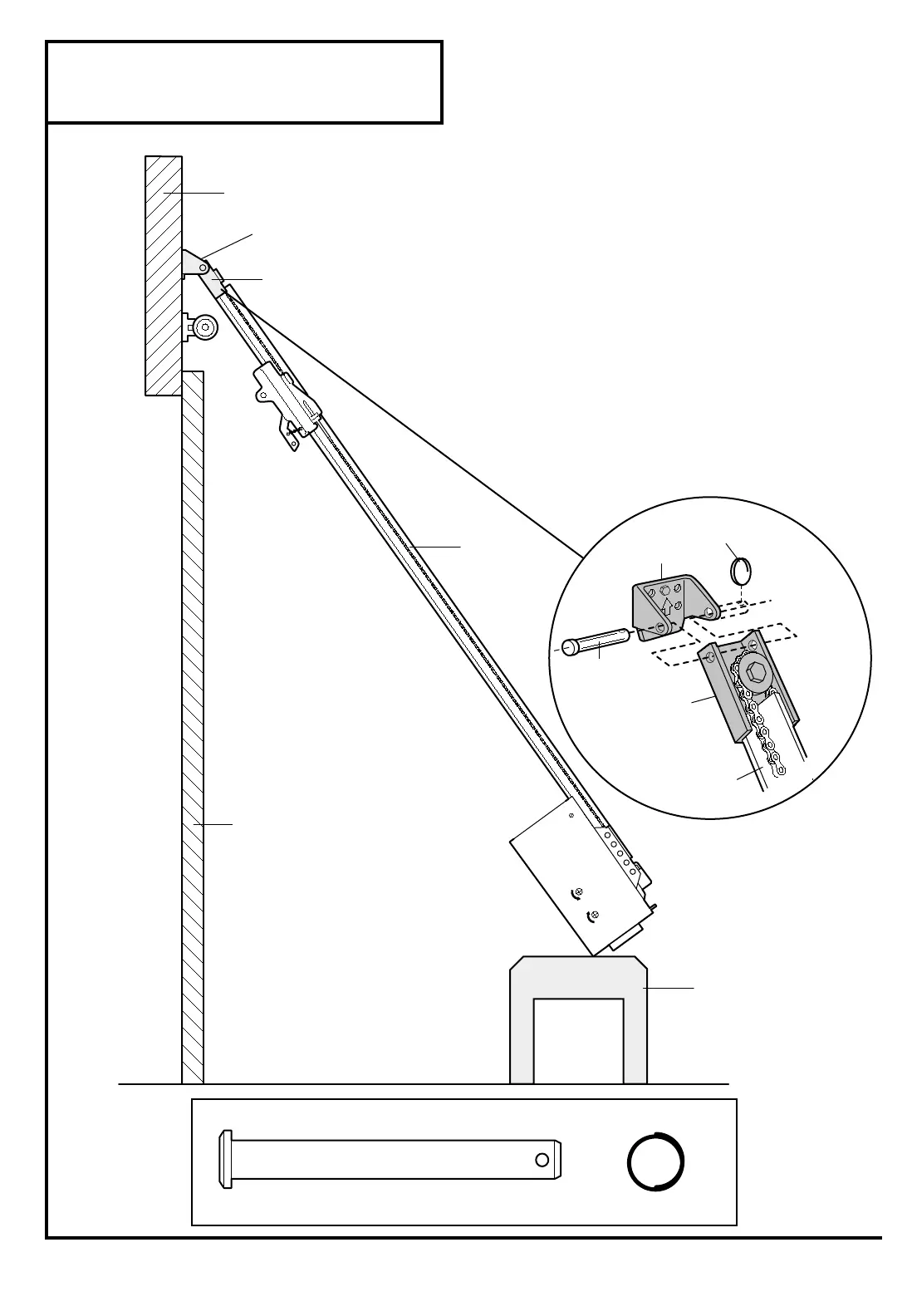
• Position the opener on the garage floor below the
header bracket. Use packing material as a
protective base.
If the door spring is in the way you'll need help.
Have someone hold the opener securely on a
temporary support to allow the T-rail to clear the
spring.
• Position the chain pulley bracket against the header
bracket.
• Align the bracket holes and join with a clevis pin as
shown.
• Insert a ring fastener to secure.
15
Installation Step 3
Attach the T-rail to the Header Bracket
Clevis Pin
5/16"x2-3/4"
Ring Fastener
Hardware Shown Actual Size

Table of Contents

Related product manuals