EasyManua.ls Logo

Chamberlain Security+ 3112E - Installation Step 3: Attach T-Rail to Header Bracket; Connecting T-Rail to Bracket

Chamberlain Security+ 3112E
80 pages
Print Icon
To Next Page IconTo Next Page
To Next Page IconTo Next Page
To Previous Page IconTo Previous Page
To Previous Page IconTo Previous Page
Loading...
Clevis Pin
5/16" x 2-3/4"
Ring Fastener
HARDWARE SHOWN ACTUAL SIZE
Header
Bracket
Temporary
Support
Header Wall
Garage
Door
T-rail
Cable
Pulley
Bracket
Clevis Pin
5/16"x2-3/4"
Ring Fastener
Header
Bracket
Cable
Pulley
Bracket
T-rail
19
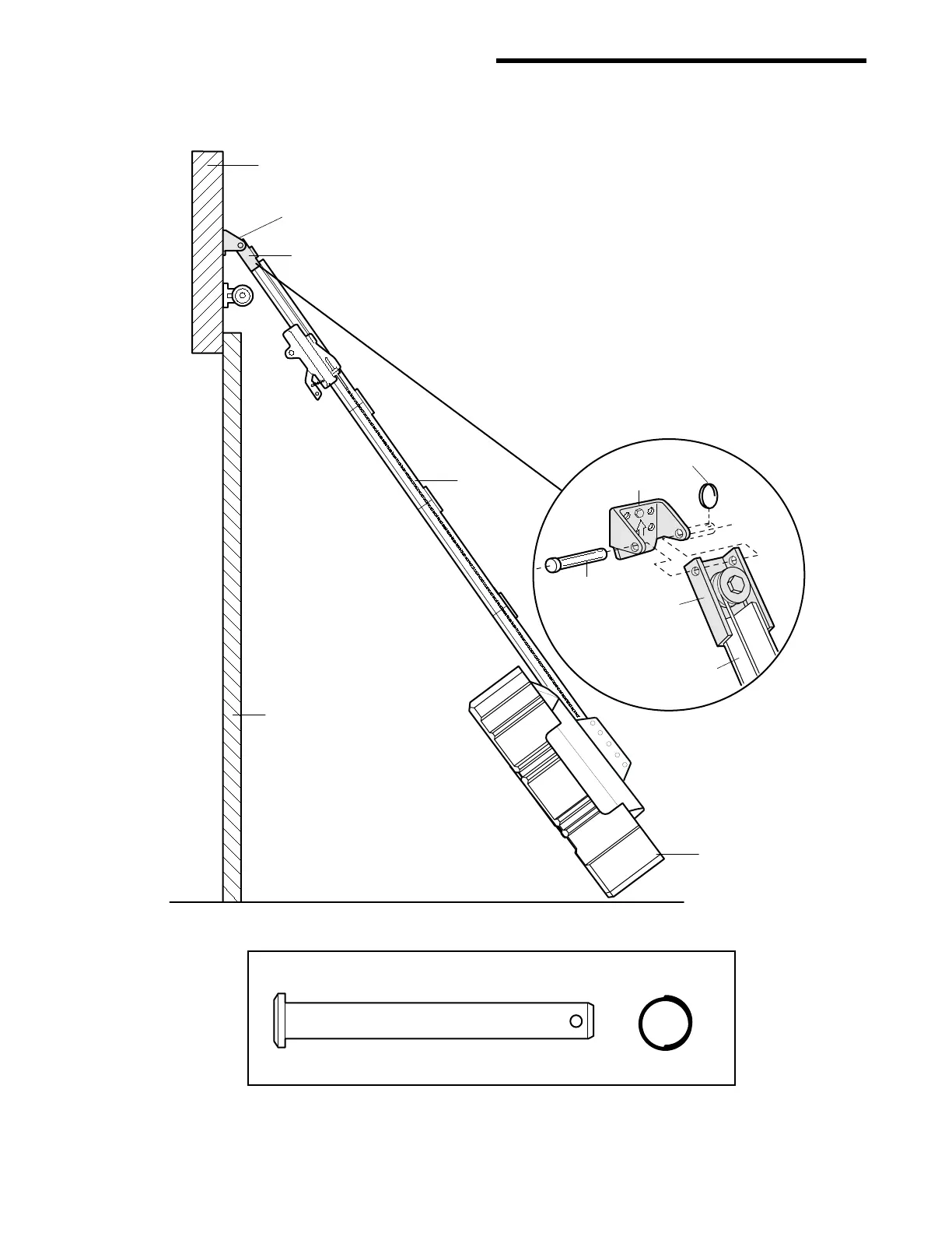
INSTALLATION STEP 3
Attach the T-Rail to the Header
Bracket
Position the opener on the garage floor below the
header bracket. Use packing material as a
protective base.
NOTE: If the door spring is in the way you’ll need
help. Have someone hold the opener securely on
a temporary support to allow the rail to clear the
spring.
Position the rail bracket against the header
bracket.
Align the bracket holes and join with a clevis pin
as shown.
Insert a ring fastener to secure.

Related product manuals