EasyManua.ls Logo

Chroma 63630-600-15 - Dynamic & Slew Rate Circuit Test

Default Icon
258 pages
Print Icon
To Next Page IconTo Next Page
To Next Page IconTo Next Page
To Previous Page IconTo Previous Page
To Previous Page IconTo Previous Page
Loading...
Programmable DC Electronic Load 63600 Series Operation & Programming Manual
7-12
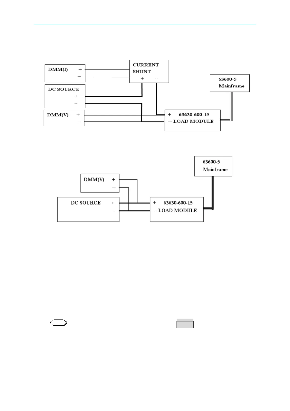
Figure 7-1
Figure 7-2
7.3.5 Dynamic & Slew Rate Circuit Test
This test verifies the slew rate circuit operation and the dynamic current waveform period
specifications when the module dynamic is operating in CC mode.
Connect the Load module, DC source, oscilloscope, and current shunt as Figure 7-3 shows.
Use oscilloscope to measure the waveform that passes through the shunt resistor
measurement port. To reduce the current waveform overshoot caused by cable inductance,
make the cables as short as possible. Adjust the oscilloscope for rise or fall time display. The
rise time measured from 10% to 90% and the fall time from 90% to 10%.
Press on the front panel of Electronic Load to show DYNA as the figure appeared
below.
DYNA

Table of Contents

Related product manuals