EasyManua.ls Logo

CIAT CIATCOOLER Series - Choix de Lemplacement du Groupe; Implantation (Dégagements À Respecter)

CIAT CIATCOOLER Series
27 pages
Print Icon
To Next Page IconTo Next Page
To Next Page IconTo Next Page
To Previous Page IconTo Previous Page
To Previous Page IconTo Previous Page
Loading...
4
Choix de l'emplacement
du groupe
Avant la manutention, l’implantation et le rac-
cordement du groupe, l’installateur devra véri-
fier les points suivants :
Ces groupes sont à placer à l’extérieur.
La surface du sol ou de la structure devra
être suffisamment résistante pour supporter le
poids du groupe.
Positionner l’unité au-dessus de la hauteur
moyenne de neige dans la région où le groupe
est installé.
L’appareil devra être parfaitement de niveau.
Le groupe doit être parfaitement accessible
pour permettre d’effectuer aisément les opé-
rations de service et d’entretien.
Aucun obstacle ne devra gêner la libre circu-
lation de l’air sur le condenseur à air (aspira-
tion et soufflage).
ATTENTION à la recirculation de l’air.
Niveau sonore : nos appareils ont été étu-
diés pour un fonctionnement à faible niveau
sonore pour ce type de matériel. Il faut cepen-
dant se soucier, dès la conception de l’installa-
tion, de l’environnement extérieur pour le bruit
rayonné et du type de bâtiment pour le bruit
transmis en aérien et solidien (vibrations).
Faire réaliser éventuellement une étude par
un acousticien.
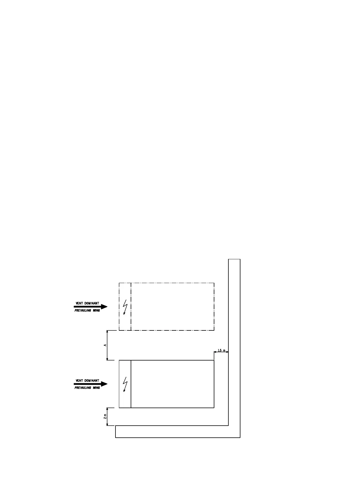
Implantation
(Dégagements à
respecter)
Il est important d’installer les groupes avec
suffisamment d’espace libre :
Pour éviter la recirculation de l’air de refoule-
ment du condenseur par réaspiration.
Pour la maintenance du groupe.
Choice of location
of the unit
Before handling, installing and connecting the
unit, the installer must verify the following
points :
These units are for external siting.
The ground or structure must be capable of
bearing the weight of the unit.
The unit must be positioned above the aver-
age snow height for the region of installation.
The unit must be perfectly level.
The unit must be perfectly accessable for
ease of cleaning and maintenance.
There must be no obstacle to the free flow of
air over the condenser (suction and dis-
charge).
ATTENTION to air re-circulation.
Sound level : our units have been designed
for operating at a low sound level for this type
of material. However, from the conception of
the installation, the effect on the exterior envi-
ronment of sound waves and vibrations in the
building must be considered.
A study by an acoustic expert may be advis-
able.
Installation
(Free space to be
respected)
It is important to install the units with sufficient
free space allowance :
To avoid recirculation of the condenser air
discharge by re-suction.
For servicing and maintenance operations.
Aufstellungsort
für das Gerät
Vor der Beförderung, Aufstellung und dem Anschluß
des Kaltwassersatzes hat der Installateur folgende
Punkte zu überprüfen:
- Die Kaltwassersätze werden im Freien aufgestellt.
- Die Stellfläche oder das Untergestell sind stabil
genug, um die Last des Geräts tragen zu können.
- Das Gerät ist höher als die durchschnittliche Schnee
höhe aufzustellen, wenn es in der Gegend im Winter
schneit.
- Das Gerät steht völlig waagerecht (Wasserwaage).
- Der Kaltwassersatz ist leicht zugänglich, um Repara
tur- und Wartungsarbeiten durchführen zu können.
- Die Luftzirkulation des luftgekühlten Verflüssigers
wird nicht behindert (Ansaugung und Ausblasung).
ACHTUNG: Luftrückfluß vermeiden.
- Schallpegel: Die Geräte weisen bei Betrieb einen
besonders niedrigen Schallpegel auf. Dennoch ist bei
der Planung der Aufstellweise der Geräte die äußere
Umgebung in Betracht zu ziehen, um eine Geräu
schweiterleitung und -verstärkung durch die Luft und
das Gebäude selbst (Vibrationen) auf ein Minimum zu
begrenzen.
Wenn nötig ist ein Akkustiktechniker hinzuzuziehen.
Aufstellung
(zu beachtender Freiraum)
Um die Kaltwassersätze muß ausreichend Freiraum
gelassen werden:
Zur Verhinderung eines Luftrückflusses der ausge
blasenen Luft des Verflüssigers in die Ansaugung
Zur Wartung des Kaltwassersatzes
2 appareils : A = 2,5 m
3 appareils et plus : A = 3,5 m
2 units : A = 2.5 m
3 units ad more : A = 3.5 m
2 Geräte: A = 2,.5 m
3 Geräte und mehr: A = 3,5 m
Vorherrschende
Windrichtung
Vorherrschende
Windrichtung

Related product manuals