EasyManua.ls Logo

CITROEN CX 2000 - Page 103

CITROEN CX 2000
394 pages
Print Icon
To Next Page IconTo Next Page
To Next Page IconTo Next Page
To Previous Page IconTo Previous Page
To Previous Page IconTo Previous Page
Loading...
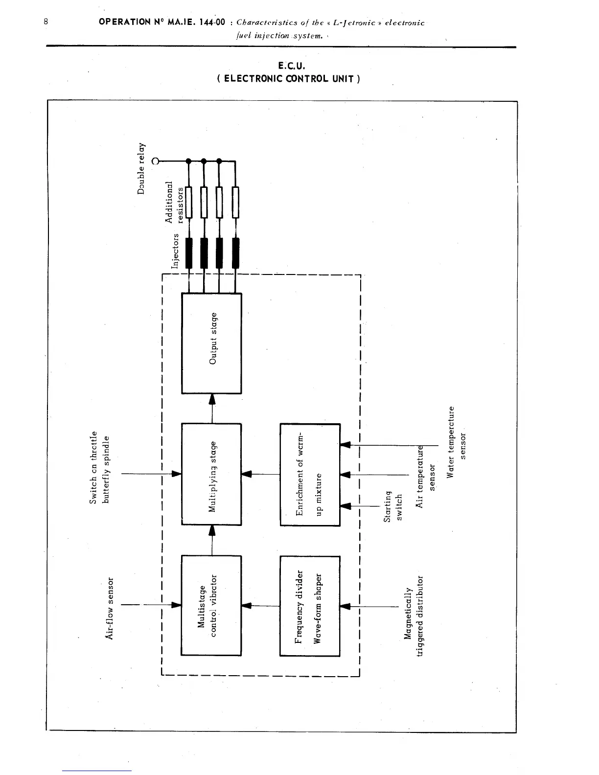
8 OPERATION No MA.IE. 144-00
: Characteristics of the (( L-Jetrovzic n electronic
fuel ivzjectian system. t
E;C.U.
( ELECTRONIC CONTROL UNIT )
I
I’
I
I
I

Related product manuals