EasyManua.ls Logo

Comestero Group World Key - Installing the Sky Reading Head

Comestero Group World Key
54 pages
Print Icon
To Next Page IconTo Next Page
To Next Page IconTo Next Page
To Previous Page IconTo Previous Page
To Previous Page IconTo Previous Page
Loading...
World Key/World Key Lite/World Key Move - operating manual
28
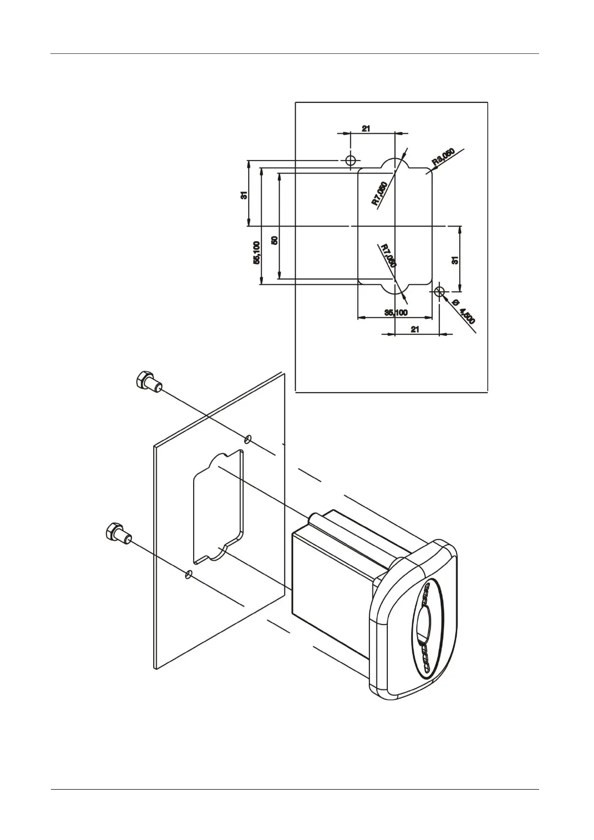
5.2.4 Installing the Sky reading head
N.B. The Sky reading head can be installed at the back of the board for particular
safety requirements. Contact the Comesterogroup Custom Service for further
information.

Related product manuals