EasyManua.ls Logo

Comunello CU - 230V - HP - Page 52

Comunello CU - 230V - HP
Print Icon
To Next Page IconTo Next Page
To Next Page IconTo Next Page
To Previous Page IconTo Previous Page
To Previous Page IconTo Previous Page
Loading...
52
COMUNELLO ®Copyright 2019 - All rights reserved
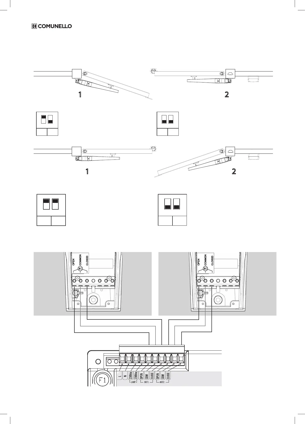
5 ANSCHLUSSBEISPIELE FÜR ZWEI MOTOREN
5.1 ABACUS - Anschlussplan der Motoren
Konguration mit verzögerter Öffnung des MOTORS Nr. 2
1 2
2
MOTORS
DELAY
MOT.2
1
ON
2
SW1
DIP1 ON = Konguration mit 2
Motoren
DIP2 OFF = Verzögerung Motor
2
INV
OFF
INV
OFF
1
ON
2
SW1
DIP1 OFF =
Drehrichtungsumkehrung MO-
TOR 1 deaktiviert
DIP2 OFF =
Drehrichtungsumkehrung MO-
TOR 2 deaktiviert
Konguration mit verzögerter Öffnung des MOTORS Nr. 1
1 2
2
MOTORS
DELAY
MOT.1
1
ON
2
SW1
DIP1 ON = Konguration mit 2
Motoren
DIP2 ON = Verzögerung Motor 1
INV
OFF
INV
OFF
1
ON
2
SW2
DIP1 OFF =
Drehrichtungsumkehrung MO-
TOR 1 deaktiviert
DIP2 OFF =
Drehrichtungsumkehrung MO-
TOR 2 deaktiviert
Kabelanschluss der Motoren OHNE GEBER an das Steuergerät
OPEN / ÖFFNEN mit OP1
GEMEINSAME LEITUNG mit CM1
CLOSED / SCHLIESSEN mit CL1
OPEN / ÖFFNEN mit OP2
GEMEINSAME LEITUNG mit CM2
CLOSED / SCHLIESSEN mit CL2
CN1
L
N
OP1
CM1
CL1
OP2
CM2
CL2
230V
230V

Related product manuals