EasyManua.ls Logo

Conti Xeos EVOLUTION 2 - Water Inlet

Conti Xeos EVOLUTION 2
Print Icon
To Next Page IconTo Next Page
To Next Page IconTo Next Page
To Previous Page IconTo Previous Page
To Previous Page IconTo Previous Page
Loading...
Edition 07/2008 - XEOS EVOLUTION 2 - XEOS TALL CUP
NOTES TECHNIQUES - TECHNICAL DOCUMENTS - page 33
SACOME, Document CONFIDENTIEL,
Ne peut être reproduit ni communiqué sans notre accord préalable.
SACOME, CONFIDENTIAL Document,
it is forbidden to duplicate or communicate this document without previous authorization.
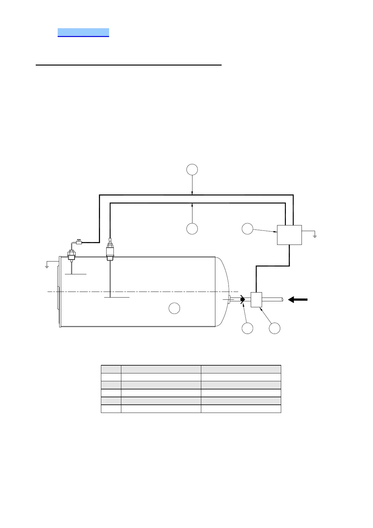
22. WATER INLET
WATER INLET AND ELECTRONIC LEVEL CONTROL
For the initial filling of the boiler; as soon as the water comes into contact with the safety sensor (3), the
immersion heater automatically heats up.
If, during use, the water falls below this level (3), the machine automatically switches to standby mode.
As soon as the water falls below the automatic level sensor (2), the electronic controller (5) commands
the solenoid valve (4) to allow the refill of the boiler (1).
A non-return valve (6), stops pressurized water from returning up the water supply pipe, if the water
supply is cut off.
1 Chaudière Boiler
2 Sonde de Niveau Automatic Level Sensor
3 Sonde de Sécurité Safety Sensor
4 Electrovanne Solenoid Valve
5 Centrale Electronique Electronic Controller
6 Clapet Anti Retour Non Return Valve
Water

Other manuals for Conti Xeos EVOLUTION 2

Related product manuals