EasyManua.ls Logo

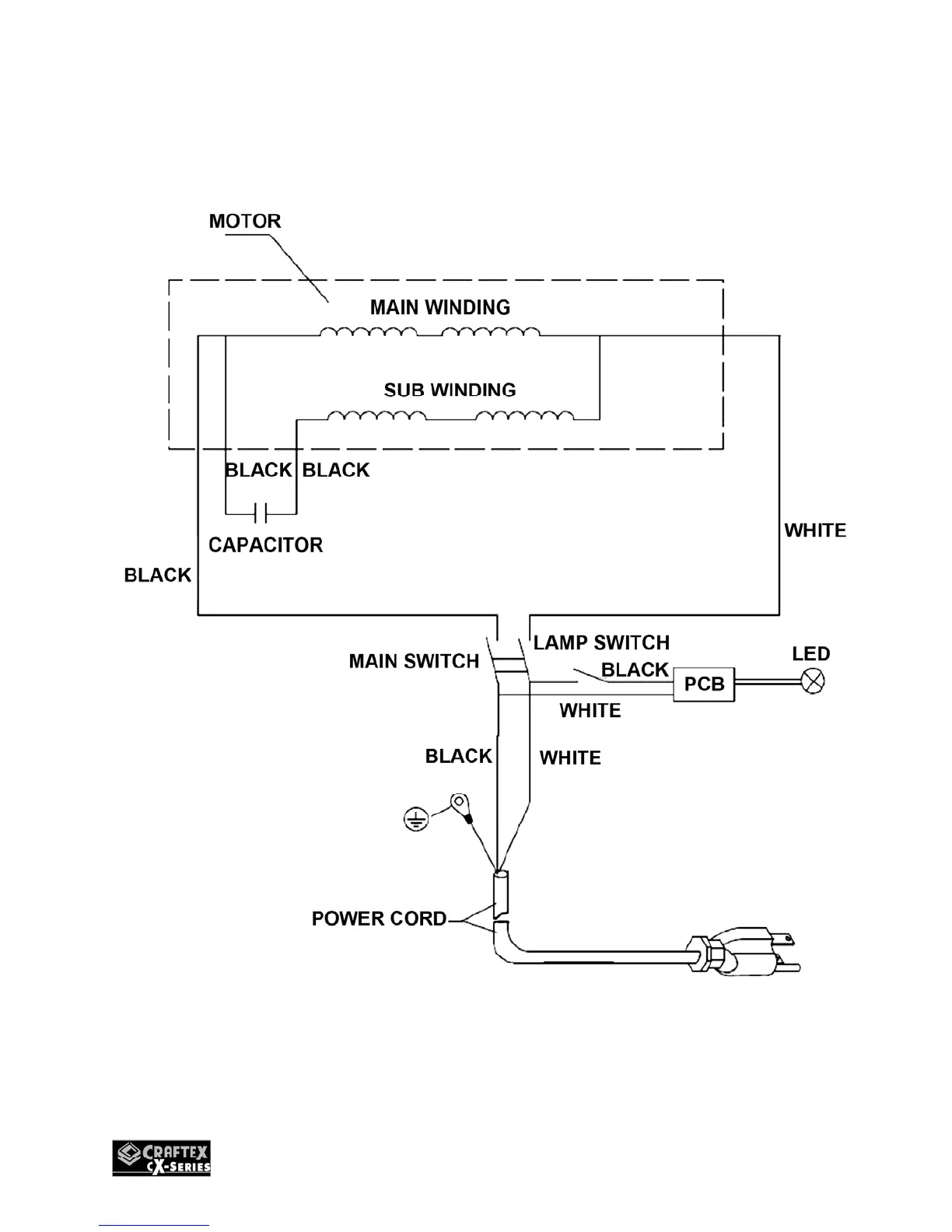
Craftex CX118 - Wiring Diagram

Craftex CX118
26 pages
Print Icon
To Next Page IconTo Next Page
To Next Page IconTo Next Page
To Previous Page IconTo Previous Page
To Previous Page IconTo Previous Page
Loading...
20
WIRING DIAGRAM

Related product manuals