EasyManua.ls Logo

Crown Boiler PHNTM080 - Page 118

Crown Boiler PHNTM080
146 pages
Print Icon
To Next Page IconTo Next Page
To Next Page IconTo Next Page
To Previous Page IconTo Previous Page
To Previous Page IconTo Previous Page
Loading...
116
Reset Boiler Here or at Sola Control
PHNTM080
214F
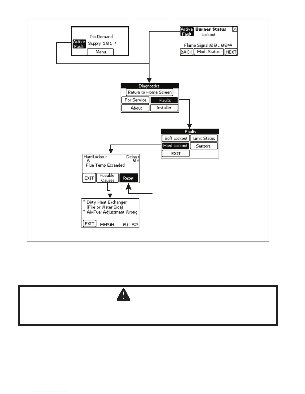
FIGURE 14.2: EXAMPLE OF DIAGNOSTIC MENU DURING HARD LOCKOUT
Thermal Fuse – The thermal fuse is designed to prevent boiler operation in the event that the heat exchanger is damaged by
excessiveuegastemperatures.Itissettoopenat358Fandisaoneshotnon-replaceabledevice.Ifthisfuseopens,theheat
exchangermustbereplaced.Thethermalfuseisessentiallyaback-uptotheuegassensor,whichisdesignedtopreventboiler
operationiftheuegastemperatureexceeds210F..
If the thermal fuse is suspected of having opened, unplug the wire heading to it and check continuity directly across the thermal
fuse. If no continuity is present, the heat exchanger needs to be replaced. If continuity is present, the fault lies elsewhere.
Sump Pressure Switch (SPS) – This pressure switch is normally closed and monitors the difference in pressures between the
boilercabinetandthesump(thesumppressureisveryclosetothepressureattheboilersventconnection).Thisswitchispiped
as shown in Figure 14.5. The SPS is calibrated to open at 3.15 +/- 0.10 inches water column. A blockage in vent system that
causes the vent pressure to exceed the SPS set point will cause the burner to shut down and recycle. Likewise, a blockage in the
air intake system that causes the vacuum in the cabinet to fall below -3.15 inches will also cause the boiler to shut down and
recycle. If this switch opens, look for a blockage in the vent or air intake system.





Other manuals for Crown Boiler PHNTM080

Related product manuals