EasyManua.ls Logo

Daewoo DB58 - Page 21

Daewoo DB58
126 pages
Print Icon
To Next Page IconTo Next Page
To Next Page IconTo Next Page
To Previous Page IconTo Previous Page
To Previous Page IconTo Previous Page
Loading...
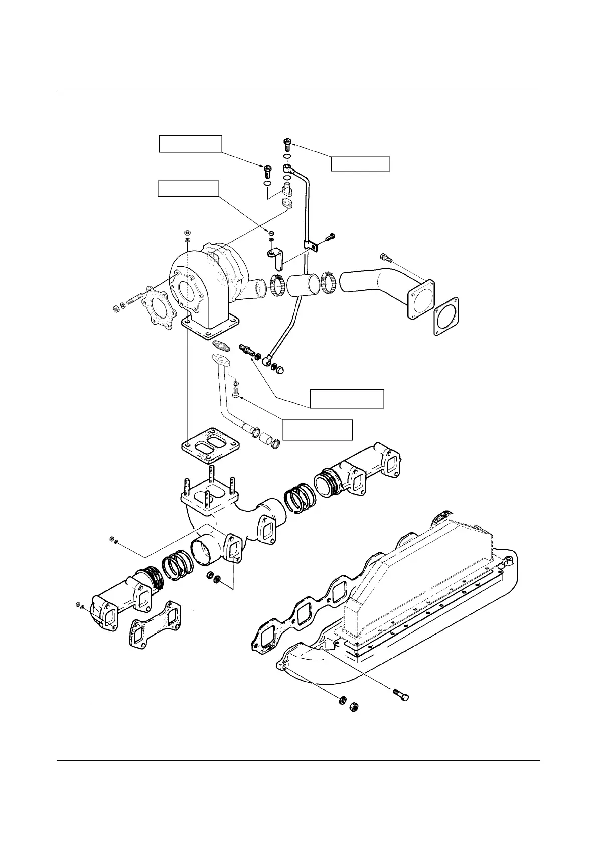
Turbo Charger and Related Parts (DB58TI)
(Unit : kgm)
- 18 -
EJM1015S
3.80.7
5.31.0
3.10.5
3.80.7
2.60.5

Related product manuals