EasyManua.ls Logo

Daikin BRC1C71 - Page 43

Daikin BRC1C71
92 pages
Print Icon
To Next Page IconTo Next Page
To Next Page IconTo Next Page
To Previous Page IconTo Previous Page
To Previous Page IconTo Previous Page
Loading...
Control Devices EDUS39-605
42 Controls
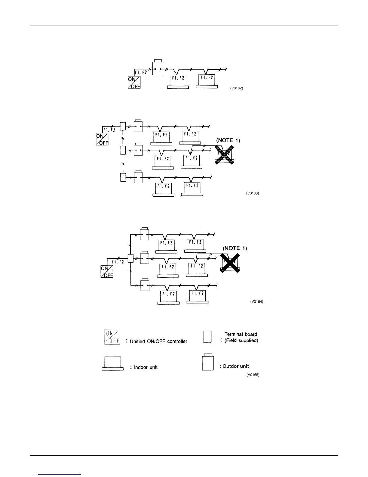
Examples of Wiring for Transmission
1. Series Wiring
2. Bus Type Wiring: Can be branched up to 16 branches
Example of 3 branches
3. Star Type Wiring: Can be branched up to 16 branches
Example of 3 branches
Note:
1. No branching is permitted from the daisy chain.
2. Use a relay terminal board (field supplied) to branch more than 3 control wires from the same terminal board.

Related product manuals