EasyManua.ls Logo

Daikin DC80SN - Main Burner Checks (S-305); Gas Pressure Checks (S-307)

Daikin DC80SN
44 pages
Print Icon
To Next Page IconTo Next Page
To Next Page IconTo Next Page
To Previous Page IconTo Previous Page
To Previous Page IconTo Previous Page
Loading...
24
SERVICING

The main burners are used to provide complete combustion
of various fuels in a limited space, and transfer this heat of
the burning process to the heat exchanger.
Proper ignition, combustion, and extinction are primarily due
to burner design, orice sizing, gas pressure, primary and
secondary air, vent and proper seating of burners.




In checking main burners, look for signs of rust, oversized
and undersized carry over ports restricted with foreign ma-
terial, etc, refer to previous drawing. Burner cross-over slots
must not be altered in size.

A predetermined xed gas orice is used in all of these fur-
naces. That is an orice which has a xed bore and position
as shown in the following drawing.
No resizing should be attempted until all factors are taken
into consideration such as inlet and manifold gas pressure,
alignment, and positioning, specic gravity and BTU content
of the gas being consumed.
The only time resizing is required is when a reduction in r-
ing rate is required for an increase in altitude.
Orices should be treated with care in order to prevent dam-
age. They should be removed and installed with a box-end
wrench in order to prevent distortion. In no instance should
an orice be peened over and redrilled. This will change
the angle or deection of the vacuum e󰀨ect or entraining
of primary air, which will make it di󰀩cult to adjust the ame
properly. This same problem can occur if an orice spud of a
di󰀨erent length is substituted.


1. Check orice visually for distortion and/or burrs.
2. Check orice size with orice sizing drills.
3. If resizing is required, a new orice of the same
physical size and angle with proper drill size opening
should be installed.
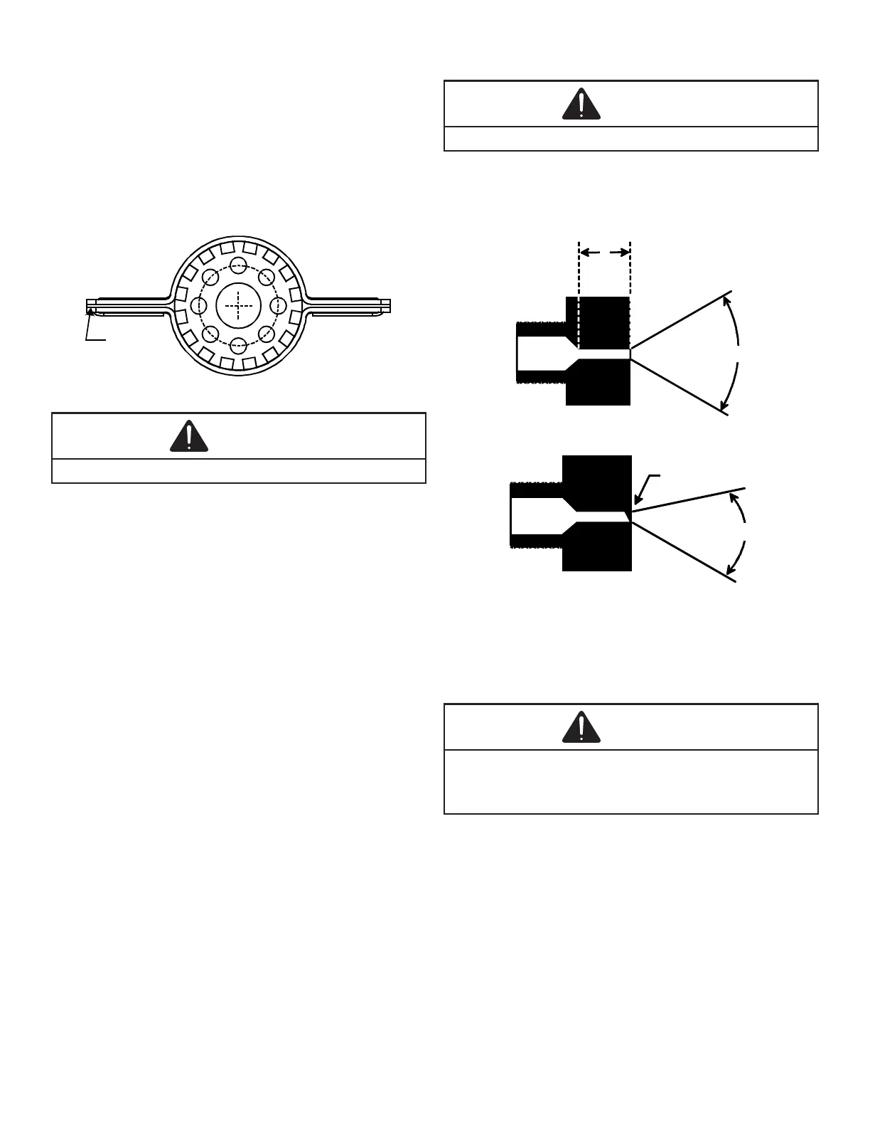
A


The length of Dimension “A” determines the angle of Gas
Stream “B”.




A dent or burr will cause a severe deection of the gas
stream.







Gas inlet and manifold pressures should be checked and
adjusted in accordance to the type of fuel being consumed.
The line pressure supplied to the gas valve must be within
the range specied below. The supply pressure can be mea-
sured at the gas valve inlet pressure tap or at a hose tting
installed in the gas piping drip leg. The supply pressure must
be measured with the burners operating. To measure the
gas supply pressure, use the following procedure.

Related product manuals