EasyManua.ls Logo

Daikin FTXTA30AW - Page 116

Daikin FTXTA30AW
120 pages
Print Icon
To Next Page IconTo Next Page
To Next Page IconTo Next Page
To Previous Page IconTo Previous Page
To Previous Page IconTo Previous Page
Loading...
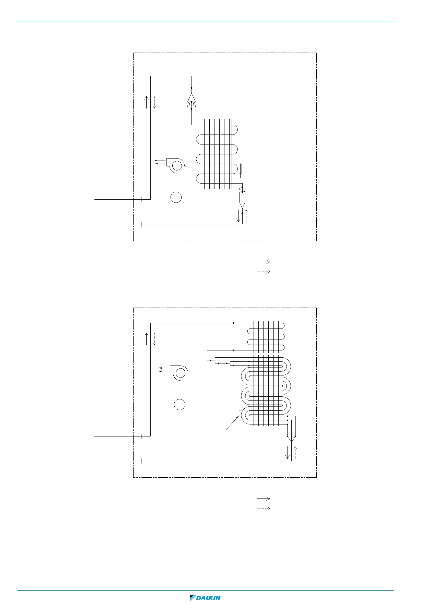
ESIE17-19C | Part 5. Appendix 5.4. Piping diagram
Optimized Heating 4
Page 116 19/08/19 | Version 1.1
Figure 5-14: FTXTM40-M
Figure 5-15: FTXTM-M, FTXTP-K, ATXTP-K
&X7
&X7
&X7
&X7
)LHOGSLSLQJ
)LHOGSLSLQJ
)DQPRWRU
&URVVIORZIDQ
7KHUPLVWRUKHDWH[FKDQJHU
+HDWH[FKDQJHU
'LVWULEXWRU
5HIULJHUDQWIORZ
&RROLQJ
+HDWLQJ
,QGRRUXQLW
+HDWH[FKDQJHU
7KHUPLVWRUKHDWH[FKDQJHU
)DQPRWRU
)LHOGSLSLQJ
)LHOGSLSLQJ
5HIULJHUDQWIORZ
+HDWLQJ
,QGRRUXQLW
&RROLQJ
yy&X7
yy&X7
yy&X7
yy&X7
&URVVIORZIDQ
1RWHV
(GLWDEOHGDWDIRUWKLVGUDZLQJDUHDYDLODEOHLQWKHy*'((%20yV\VWHP


Table of Contents

Related product manuals