EasyManua.ls Logo

Daikin Super Multi Plus E-Series RMXS112E8V1B - Page 172

Daikin Super Multi Plus E-Series RMXS112E8V1B
492 pages
Print Icon
To Next Page IconTo Next Page
To Next Page IconTo Next Page
To Previous Page IconTo Previous Page
To Previous Page IconTo Previous Page
Loading...
Field Settings SiBE18-821_C
160 Test Operation and Field Settings
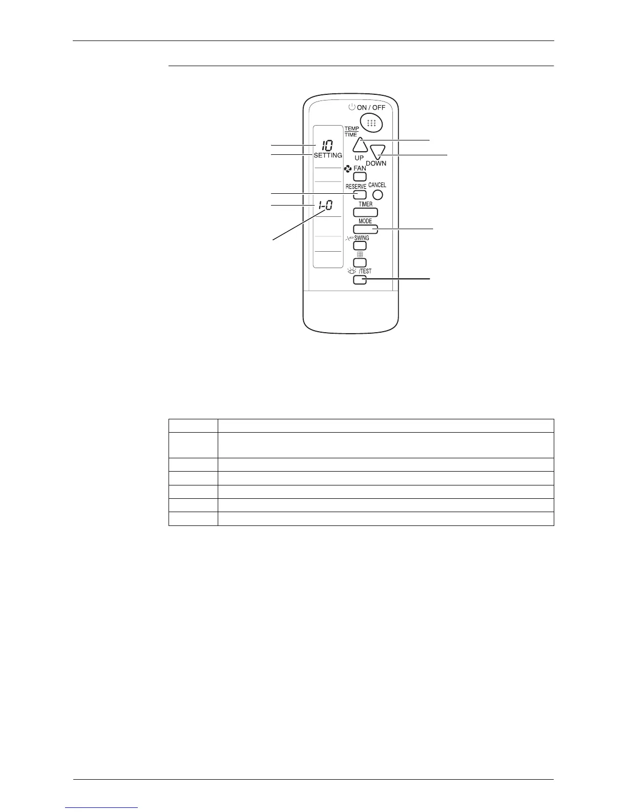
Wireless remote
controller
BRC7E530W, BRC7F532F, BRC7EA63W
To set the field settings, you have to change:
Mode No.
First code No.
Second code No.
Step Action
1 Press the [Inspection / Test] button for 4 seconds during normal mode to enter the
field setting mode.
2 Press the [MODE] button to select the desired mode No.
3 Press the [UP] button to select the first code No.
4 Press the [DOWN] button to select the second code No.
5 Press the [RESERVE] button to confirm the setting.
6 Press the [Inspection / Test] button to return to the normal mode.
RESERVE button
[Inspection / Test] button
Mode No.
Field setting mode
UP button
DOWN button
First code No.
Second code No.
MODE button
(R11737)

Table of Contents

Related product manuals