EasyManua.ls Logo

Danfoss 087H3803 - Page 17

Danfoss 087H3803
20 pages
Print Icon
To Next Page IconTo Next Page
To Next Page IconTo Next Page
To Previous Page IconTo Previous Page
To Previous Page IconTo Previous Page
Loading...
17
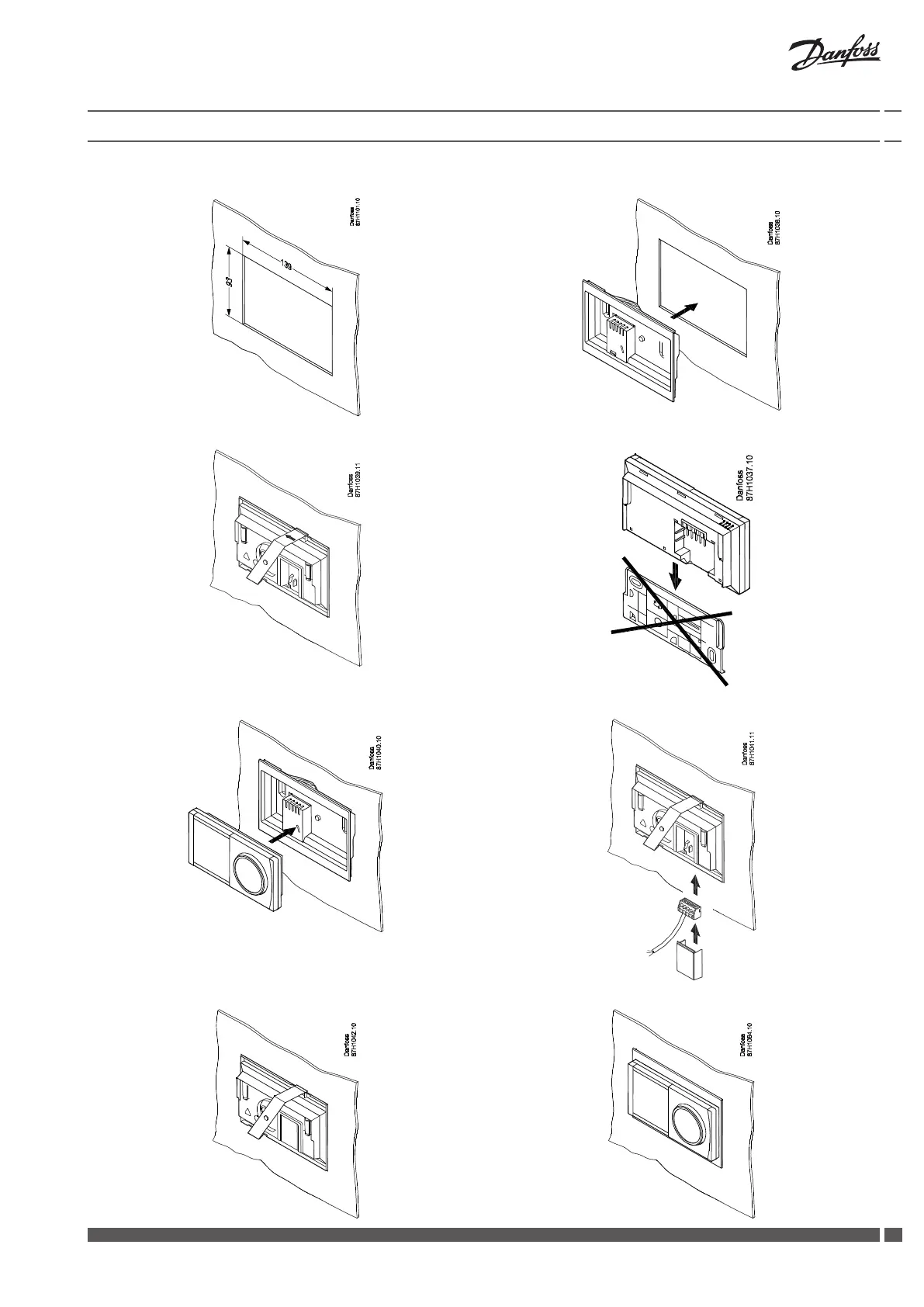
ECA 30
Mounting Guide ECL Comfort 310, A368
Danfoss District Energy VI.LG.K2.00 DEN-SMT/DK

Other manuals for Danfoss 087H3803

Related product manuals