EasyManua.ls Logo

Deif XL72 - Page 13

Deif XL72
39 pages
Print Icon
To Next Page IconTo Next Page
To Next Page IconTo Next Page
To Previous Page IconTo Previous Page
To Previous Page IconTo Previous Page
Loading...
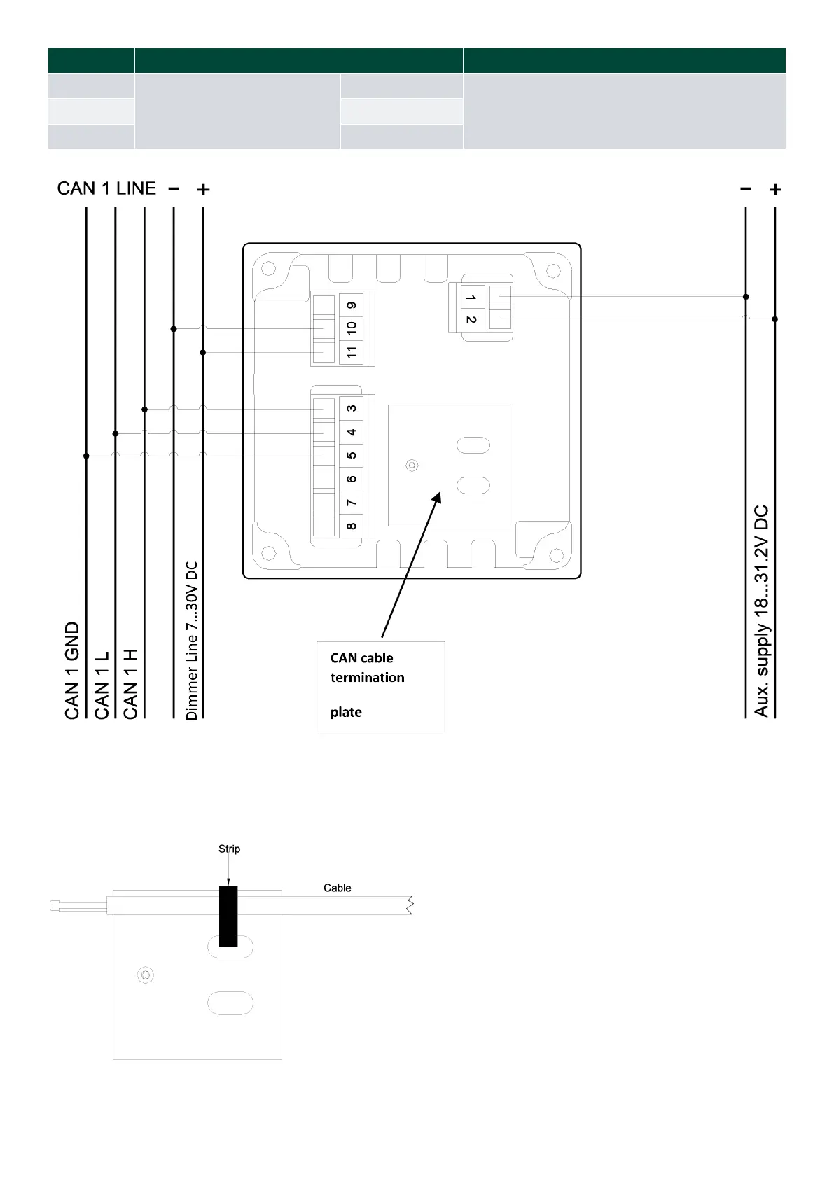
Pin number Function Note
9
Illumination analogue dimmer
NC
Dimmer input. Dimmer range 7 to 30 V DC
Consumption max. 30 mA
10 Illumination GND
11 Illumination +
Optional calibration switch and resistor not shown, see Commissioning for details.
NOTE
The plate shown at the arrow is for fastening the CAN cable with a strip. The strip is not included.
Installation and commissioning guide 4189350024O EN Page 13 of 39

Table of Contents

Related product manuals