EasyManua.ls Logo

DeLonghi ESAM2502 - Ontkalking

DeLonghi ESAM2502
Print Icon
To Next Page IconTo Next Page
To Next Page IconTo Next Page
To Previous Page IconTo Previous Page
To Previous Page IconTo Previous Page
Loading...
86
Let op!
De zetgroep kan niet worden verwijderd wanneer het apparaat
ingeschakeld is.
1. Controleer of het apparaat de uitschakeling correct heeft
uitgevoerd (zie “7. Het apparaat uitschakelen”).
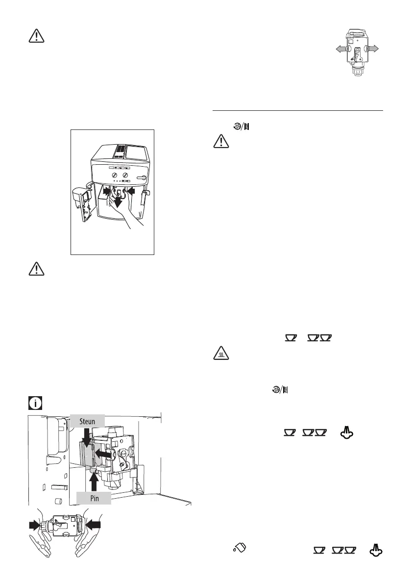
2. Open het deurtje.
3. Verwijder het druppelbakje en het koedikbakje (g. 18);
4. Druk de twee rode ontgrendelknoppen naar binnen en trek
tegelijkertijd de zetgroep naar buiten (g. 24).
24
Let op!
ALLEEN MET WATER AFSPOELEN.
GEEN REINIGINGSMIDDELEN  GEEN AFWASMACHINE
Reinig de zetgroep zonder gebruik van reinigingsmiddelen om-
dat deze mogelijk schade veroorzaken.
5. Dompel de zetgroep circa 5 minuten in water onder en
spoel de groep vervolgens af onder de kraan.
6. Na het reinigen de zetgroep in de steun en de onderste pin
terug schuiven.
Druk vervolgens op de opschrift PUSH tot het horen van de
klik van het vastkoppelen.
Let op:
Als het moeilijk is om de zetgroep
terug te plaatsen, dan dient men
hem (voordat hij teruggeplaatst
wordt) op de juiste grootte te
brengen door op de twee hendels
te drukken, zoals in de afbeelding.
7. Is de zetgroep eenmaal teruggeplaatst,
controleer dan of de twee rode toetsen
naar buiten gesprongen zijn.
8. Het druppelbakje en het koedikbakje
terug plaatsen.
9. Sluit het deurtje.
14. ONTKALKING
Ontkalk de machine wanneer op het bedieningspaneel het
lampje knippert.
LET OP!
Het ontkalkmiddel bevat zuren die huid en ogen kunnen
irriteren. Het is absoluut noodzakelijk de door de fabrikant
op de verpakking aangegeven veiligheidswaarschuwingen
in acht te nemen met betrekking tot de maatregelen in
geval van contact met de huid en de ogen.
Wij raden aan uitsluitend ontkalkmiddel van De’Longhi te
gebruiken. Het gebruik van ongeschikte ontkalkmiddelen,
evenals het niet regelmatig uitvoeren van de ontkalking,
kan leiden tot het optreden van gebreken die niet onder de
garantie van de fabrikant vallen.
1. Schakel het apparaat in.
2. Leeg het waterreservoir (A12).
3. Het waterreservoir vullen met het met water verdunde
ontkalkmiddel (volgens de op de verpakking aangegeven
verhoudingen).
Zet een lege bak met een minimuminhoud van 1,5 liter
onder de warmwateruitloop.
4. Wacht tot de lampjes en continue branden.
Let op! Gevaar voor brandwonden.
Uit de melkopschuimer stroomt heet water met zuren. Wees
voorzichtig niet in contact te komen met de waterspatten.
5. Druk op de toets en houd deze minstens 5 seconden
ingedrukt om de invoer van de oplossing te bevestigen
en de ontkalking te starten. Het lampje in de toets blijft
branden om de start van het ontkalkprogramma aan te
geven en de lampjes , en knipperen
gelijktijdig om aan te geven dat de stoomknop naar de
stand I gedraaid moet worden (er kan geen koe gezet
worden).
6. Draai de stoomknop naar links in de stand I: de ontkalko-
plossing stroomt uit de melkopschuimer en vult de onder-
staand kan.
Het ontkalkprogramma voert automatisch, met tussen-
pozen, een reeks spoelingen uit om de kalkresten uit de
espressomachine te verwijderen.
Na ongeveer 30 minuten is het waterreservoir leeg en gaat het
lampje branden en de lampjes , en

Table of Contents

Related product manuals