EasyManua.ls Logo

Delta 43-431 - ADDITIONAL INSTRUCTIONS FOR WOOD SHAPERS; General Operation and Safety; Workpiece Handling and Cutter Setup; Component Inspection and Information Sources

Delta 43-431
16 pages
Print Icon
To Next Page IconTo Next Page
To Next Page IconTo Next Page
To Previous Page IconTo Previous Page
To Previous Page IconTo Previous Page
Loading...
4
FAILURE TO FOLLOW THESE RULES MAY RESULT IN SERIOUS PERSONAL INJURY.
SAVE THESE INSTRUCTIONS.
Refer to them often and use them to instruct others.
Fig. B
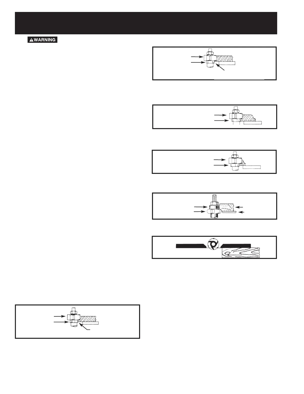
24. WHEN SHAPING with collars and starting pin, use work
that is fairly heavy in proportion to the cut being made (Fig.
D).
Fig. D
Fig. E
Fig. F
28. SHOULD ANY PART OF THE TOOL be missing,
damaged, or fail in any way, or should any electrical
component fail to perform properly, shut off the switch and
remove the plug from the power supply outlet. Replace any
missing, damaged, or failed parts before resuming operation.
29. IMPORTANT: When the tool is not in use, the switch
should be locked in the “OFF” position to prevent
unauthorized use.
30. ADDITIONAL INFORMATION regarding the safe
and proper operation of this machine, including a
safety video, is available from the Power Tool Institute,
1300 Summer Avenue, Cleveland, OH 44115-2851
(www.powertoolinstitute.com). Information is also available
from the National Safety Council, 1121 Spring Lake Drive,
Itasca, IL 60143-3201. Please refer to the American National
Standards Institute ANSI 01.1 Safety Requirements for
Woodworking Machines and the U.S. Department of Labor
OSHA 1910.213 Regulations.
SUFFICIENT
BEARING SURFACE
CUTTER
COLLAR
RIGHT
CUTTER
COLLAR
RIGHT
CUTTER
COLLAR
WRONG
CUTTER
COLLAR
WORK
TABLE
26. When shaping with collars and starting pin, the cutter
should be positioned below the collar when possible (Fig. F).
1 IF YOU ARE NOT thoroughly familiar with the operation
of Wood Shapers, obtain advice from your supervisor,
instructor or other qualified person.
2. FOLLOW ALL WIRING CODES and recommended
electrical connections. Make certain that the tool is properly
grounded.
3. NEVER turn the tool “ON” before clearing the table of all
objects (tools, scraps of wood, etc.).
4. DO NOT process materials less than 12" in length or 4" in
width without special supporting fixtures. Use push sticks,
featherboards, or holddowns whenever possible.
5. ALWAYS use a miter gauge and a clamp attachment
when edge shaping work less than 6" wide. Remove the fence
during this operation.
6. AVOID awkward hand positions. A sudden slip could
allow the hand to contact the cutter.
7. KEEP hands away from cutting tool.
8. NEVER run the stock between the fence and the
cutter.
9. DO NOT feed material that is warped, contains knots, or
is embedded with foreign objects, (nails or staples, etc.).
10. NEVER start the tool with the stock in contact with the
cutter.
11. NEVER reach under the table while the tool is running.
12. NEVER perform layout, assembly, or set-up work on the
table while the tool is operating.
13. KEEP cutters sharp and free from rust and pitch.
14. ADJUST THE FENCE HALVES so that the cutter opening
is never more than is required to clear the cutter.
15. ALWAYS lock the fence hardware after making fence
adjustments.
16. PROPERLY SECURE THE CUTTERS before starting the
tool.
17. DO NOT perform any operation freehand. ALWAYS use
the fence for straight shaping, the miter gauge for edge
shaping, and the starting pin and rub collars for curve shaping.
18. ALWAYS keep the front motor access panel closed while
operating the tool.
19. WEAR HEARING PROTECTION to safeguard against
hearing loss.
20. USE GUARDS provided with the machine when
possible.
21. MAKE ALL ADJUSTMENTS with the power “OFF”.
22. BEFORE leaving the machine, make sure the work area is
clean.
23. WHEN SHAPING with collars and starting pin, the collar
MUST have sufficient bearing surface (Fig. B). The wrong way
to perform this operation is illustrated in Fig. C. Note that the
collar DOES NOT have sufficient bearing surface.
25. UNDER NO CIRCUMSTANCES should short work of
light body be shaped against the collars (Fig. E).
27. Feed workpiece against cutter rotation (Fig. G)
Fig. G
CUTTER ROTATION
FEED
Fig. C
INSUFFICIENT
BEARING SURFACE
CUTTER
COLLAR
WRONG
ADDITIONAL INSTRUCTIONS
FOR WOOD SHAPERS

Related product manuals