EasyManua.ls Logo

Delta ASD-A2-4543 Series

Delta ASD-A2-4543 Series
721 pages
To Next Page IconTo Next Page
To Next Page IconTo Next Page
To Previous Page IconTo Previous Page
To Previous Page IconTo Previous Page
Loading...
Chapter 3 Wiring ASDA-A2
3-58 Revision February, 2017
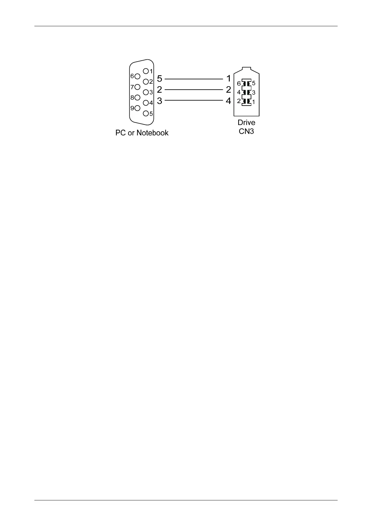
3.6.2 Connection between PC and Connector CN3

Table of Contents

Other manuals for Delta ASD-A2-4543 Series

Related product manuals