EasyManua.ls Logo

Doosan D120 - Specifications; Axle Torque Specifications

Doosan D120
72 pages
Print Icon
To Next Page IconTo Next Page
To Next Page IconTo Next Page
To Previous Page IconTo Previous Page
To Previous Page IconTo Previous Page
Loading...
Power Train Specifications5
Specifications
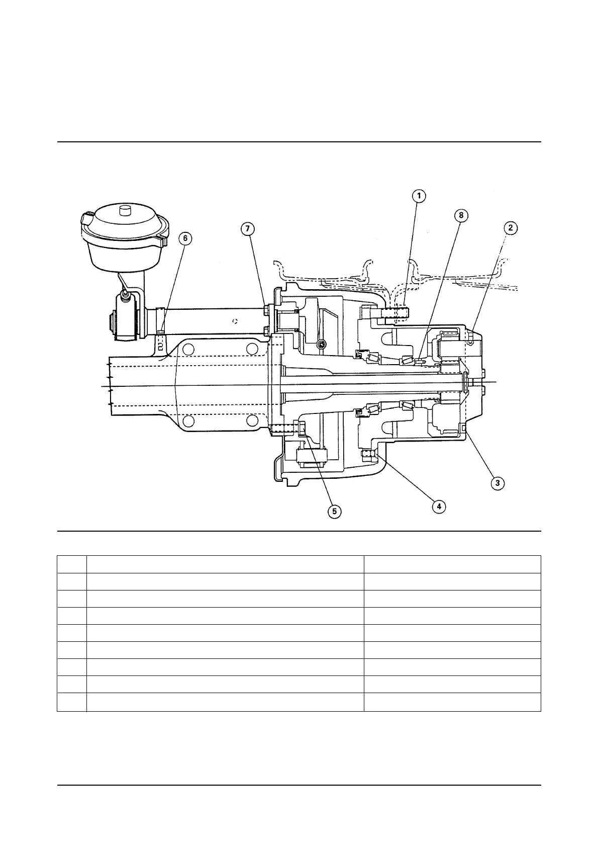
Axle for D100/120 & D110/130S-5 Truck-Wheel End Torque Chart
Item Fastener Torque Value
1 Wheel rim nut 500 lb•ft (680 N•m)
2pinion shaft set screw 35 lb•ft (47 N•m)
3 Oil fill/level/drain plug 35 lb•ft (47 N•m)
4 planetary spider-to-wheel hub slotted head screw Hand tighten(no specification)
5 Spindle and brake spider mounting 310-400 lb•ft (420-542 N•m)
6 Camshaft bracket clamp 35-50 lb•ft (47-68 N•m)
7 Camshaft bracket to spider 85-115 lb•ft (115-156 N•m)
8 Wheel bearing adjusting nut Refer to instructions on page 50

Other manuals for Doosan D120

Related product manuals