EasyManua.ls Logo

Dreve Drufomat scan - Creación y Almacenamiento Manual de Programas de Temporización

Dreve Drufomat scan
Print Icon
To Next Page IconTo Next Page
To Next Page IconTo Next Page
To Previous Page IconTo Previous Page
To Previous Page IconTo Previous Page
Loading...
92
Drufomat scan
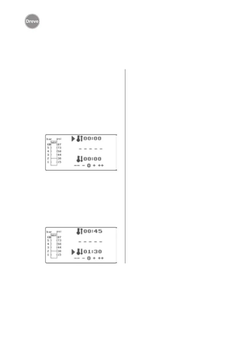
9.2 Creación y almacenamiento manual de programas
de temporización
Para láminas de termoadaptación que
no disponen del correspondiente código
de barras se pueden introducir y alma-
cenar hasta tres programas de tempo-
rización individuales.
Conecte el equipo. Se muestra la pan-
talla inicial. Pulsando una vez la tecla
de menú (j), en la pantalla aparece en
la posición b – – – – –.
Tal como se describe en el apartado
9.2., pulse la tecla de menú (j) e intro-
duzca el valor deseado para el tiempo
de calentamiento por medio de las
teclas de menú +/- (e/i). A continua-
ción, vuelva a pulsar la tecla de menú (j)
e introduzca la fase de enfriamiento.
Para utilizar estos valores una sola vez,
confirme con la tecla de OK (f) los dos
valores introducidos. Continúe tal como
se describe a partir del apartado 8.2.
Si desea guardar el programa de tem-
porización que ha creado para utilizarlo
más veces, tiene a su disposición 3 espa-
cios de almacenamiento (F1-F3).
No confirme con la tecla de OK el pro-
grama de temporización que ha creado
(tal como se describe más arriba); en su
lugar, vuelva a pulsar la tecla de menú
(j). En la posición b de la pantalla apa-
rece F1, y se registran los tiempos intro-
ducidos. Para acceder a los espacios
de almacenamiento F2 y F3 se debe
pulsar la tecla de menú (j) 2 ó 3 veces
respectivamente. Para guardar los tiem-
pos en el espacio de almacenamiento
deseado, pulse la tecla de OK (f). Con-
tinúe tal como se describe a partir del
apartado 8.2.

Table of Contents