EasyManua.ls Logo

Dri-Eaz BD1000 - Power Setup; Voltage Selection and Connection; Resetting After Incorrect Voltage; Fuse Replacement

Dri-Eaz BD1000
7 pages
Print Icon
To Next Page IconTo Next Page
To Next Page IconTo Next Page
To Previous Page IconTo Previous Page
To Previous Page IconTo Previous Page
Loading...
07-01742C F435-DV (110230V UK) 3 Legend Brands Holdings, Ltd.
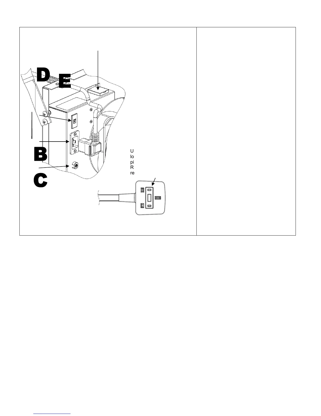
POWER SETUP
1. Remove 2 screws on top of moulded
cover and hinge open.
2. Voltage selection. Select 115V or 230V
on the VOLTAGE SELECTION switch (A).
3. Plug correctly rated power cord (D) into
power receptacle (B). (See p. 7 for available
cords.)
4. Slide cable strain relief fitting (E) into cord
grip slot in back panel.
5. Check that cable is correctly positioned
into outlet slot and close cover. Close cover
and replace 2 screws. Tighten fully with a
wrench.
Reset after incorrect voltage selection:
The electrical system is internally protected
against incorrect voltage selection. To reset
following incorrect connection, disconnect
the power cord and press the CIRCUIT
BREAKER button (C). Select correct voltage
(A) before connecting the power cord.
Replacement 13 amp Fuses for UK power
cord:
If the voltage selection switch is set to 115V
and 230V power is supplied to the unit, the
breaker may trip and/or the fuse in the UK
power cord (left) plug may blow. Replace
with spare fuse (stored in spare fuse box) if
necessary.
UK power cord fuse
location (13A / 230V 3
pin plug #BS1363 only).
Remove cover to
replace blown fuse.
UK power cord
replacement fuses.

Related product manuals