EasyManua.ls Logo

Duncan EcoSeeder - EcoSeeder Tine Harrow (Optional)

Default Icon
81 pages
Print Icon
To Next Page IconTo Next Page
To Next Page IconTo Next Page
To Previous Page IconTo Previous Page
To Previous Page IconTo Previous Page
Loading...
72
1
2
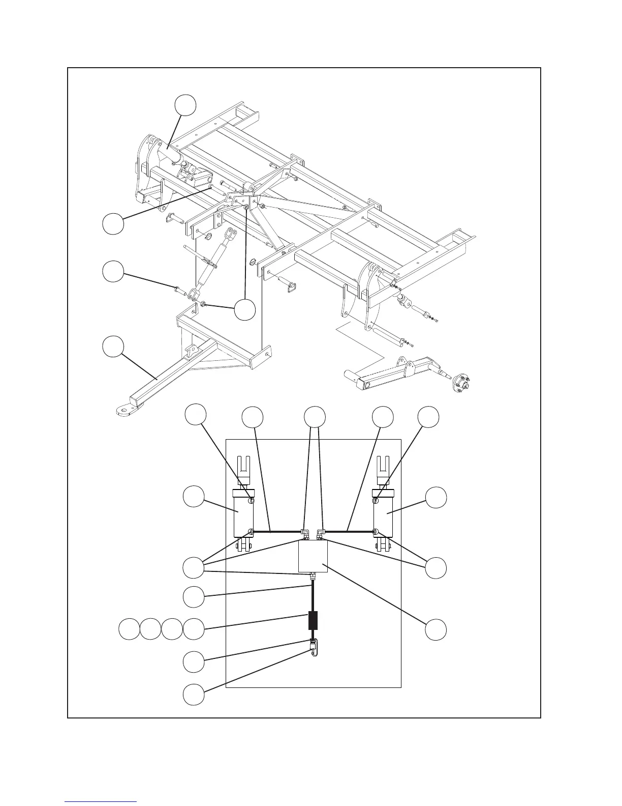
Kit 27975K
Remove the turnbuckles from the wheel legs.
Use one turnbuckle on the drawbar.
Fit the hydraulic rams onto the wheel legs.
2
4
9
7
8
13
9
18
16
17
‘EcoSeeder’ Seed Drill 3PTL to Trailing conversion
10
11
12
2
35
19
19
6
3

Table of Contents