EasyManua.ls Logo

Dyna-Glo DGP397SNN - Page 9

Dyna-Glo DGP397SNN
87 pages
Print Icon
To Next Page IconTo Next Page
To Next Page IconTo Next Page
To Previous Page IconTo Previous Page
To Previous Page IconTo Previous Page
Loading...
9
X
FF
G
L
V
EE
G
L
ASSEMBLY INSTRUCTIONS
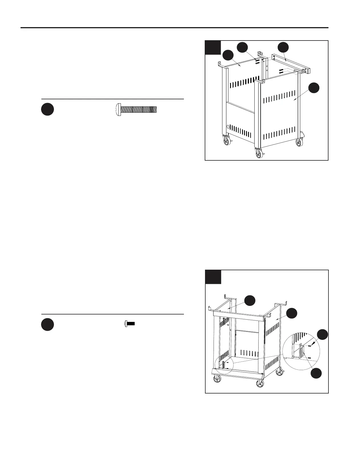
 $WWDFKWKHXSSHUIURQWGRRUEUDFH9WRWKH
FDUWOHIWVLGHSDQHODVVHPEO\/DQGWKHFDUW
ULJKWVLGHSDQHODVVHPEO\*ZLWKIRXU0[
EROWV((
 $WWDFKWKHGRRUPDJQHW;WRWKHFDUWOHIWVLGH
DVVHPEO\/ZLWKIRXU0[EROWV))
5
6
Hardware Used
Hardware Used
EE
FF
M6x35 Bolt
M3x10 Bolt
x 4
x 4
L
G
FF
X
L
G
EE
V

Related product manuals